EasyManua.ls Logo

Automationdirect.com DirectLOGIC DL205 Series

Automationdirect.com DirectLOGIC DL205 Series
587 pages
To Next Page IconTo Next Page
To Next Page IconTo Next Page
To Previous Page IconTo Previous Page
To Previous Page IconTo Previous Page
Loading...
DL205 User Manual, 4th Edition, Rev. B
5–80
Chapter 5: Standard RLL Instructions - Logical
1
2
3
4
5
6
7
8
9
10
11
12
13
14
A
B
C
D
Exclusive Or Double (XORD)
The Exclusive Or Double is a 32-bit instruction that
performs an exclusive OR of the value in the
accumulator and the value (Kaaa), which is an
8-digit (max.) constant. The result resides in the
accumulator. Discrete status flags indicate if the
result of the Exclusive Or Double is zero or a
negative number (the most significant bit is on).
NOTE: The status flags are only valid until another instruction that uses the same flags is executed.
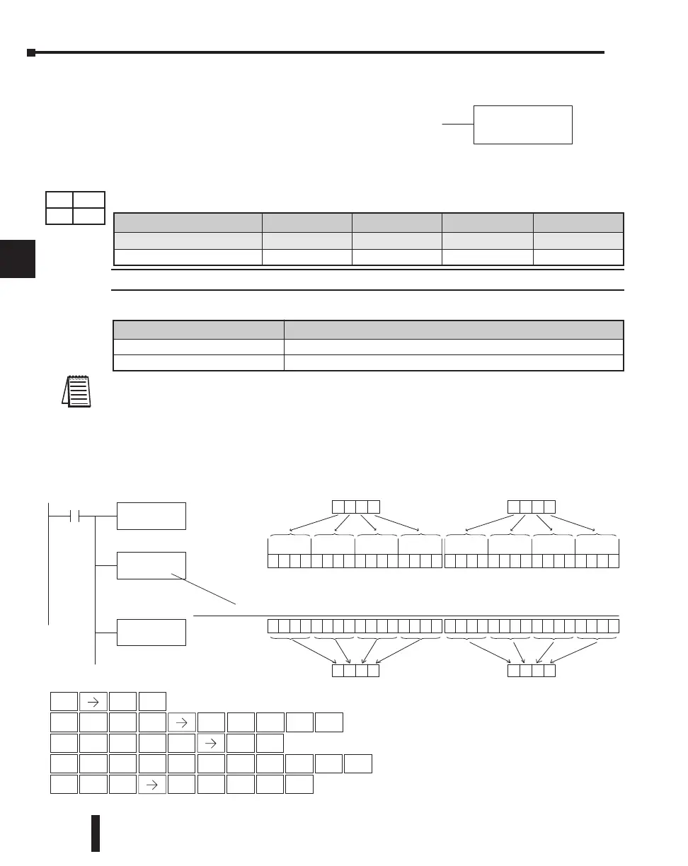
In the following example, when X1 is on, the value in V2000 and V2001 will be loaded into
the accumulator using the Load Double instruction. The value in the accumulator is
exclusively ORed with 36476A38 using the Exclusive Or Double instruction. The value in
the accumulator is output to V2010 and V2011 using the Out Double instruction.
K aaa
XORD
JMP
K
SHFTSHFT
3
D
OR
Q
XORD 36476A38
Handheld Programmer Keystrokes
LDD
V2000
X1
Load the value in V2000 and
V2001 into the accumulator
XORD
K36476A38
XORD the value in the
accumulator with
the constant value
36476A38
OUTD
V2010
Copy the value in the
accumulator to V2010
and V2011
0010100001111010
01000010010000100000010000000000
V2000
287A
0110001000111001
0101010001111110
15 14 13 12 11 10 9 8 7 6 5 4 3 2 1 0
31 30 29 28 27 26 25 24 23 22 21 20 19 18 17 1631 30 29 28 27 26 25 24 23 22 21 20 19 18 17 16
Acc.
Acc.
Acc.
V2010
4242
V2001
?
547E
V2011
6239
0101010001111110 0010100001111010
DirectSOFT
011 01010001110000 011011001000111
STR
$
SHFT
ANDST
L
3
D
3
D
SHFT
SET
X
OUT
GX
SHFT
3
D
3
D
6
G
4
E
8
I
3
D
SHFT
SHFT
0
A
7
H
6
G
ENT
1
B
ENT
2
C
0
A
0
A
0
A
ENT
2
C
0
A
1
B
0
A
ENT
þ
þ
þ
þ
230
240
250-1
260
Operand Data Type DL230 Range DL240 Range DL250-1 Range DL260 Range
aaa aaa aaa aaa
Constant K 0-FFFFFFFF 0-FFFFFFFF 0-FFFFFFFF 0-FFFFFFFF
Discrete Bit Flags Description
SP63 Will be on if the result in the accumulator is zero
SP70 Will be on if the result in the accumulator is negative
DS Used
HPP Used

Table of Contents

Related product manuals