EasyManua.ls Logo

Burkert 8630 - Self-Parametrization for Positioner - X.TUNE; Supplementary Function P.CONTRL; Self-Parametrization of the Positioner - X.TUNE

Burkert 8630
192 pages
Print Icon
To Next Page IconTo Next Page
To Next Page IconTo Next Page
To Previous Page IconTo Previous Page
To Previous Page IconTo Previous Page
Loading...
8630 - 91
OPERATING THE PROCESS CONTROLLER
Self-parametrization of the positioner -
X.TUNE
The description of the self-optimization of controllers is to be found in the chapter
Operating and
Controller Functions / Commissioning and Setting Up as a Positioner / Main Menu for the Settings on
Commissioning /
X.TUNE.
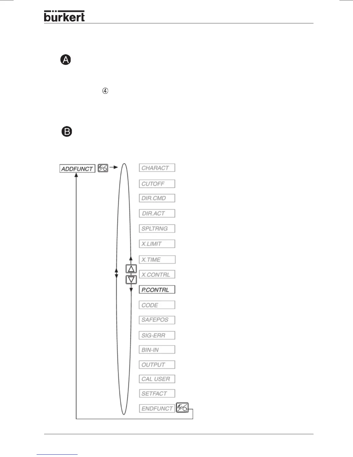
Supplementary function
P.CONTRL
(see also the section
„Operating the positioner - configuring the supplementary functions“
)
Parametrization of the PID controller

Table of Contents

Related product manuals