EasyManua.ls Logo

Clark GEX20 - Page 91

Clark GEX20
410 pages
Print Icon
To Next Page IconTo Next Page
To Next Page IconTo Next Page
To Previous Page IconTo Previous Page
To Previous Page IconTo Previous Page
Loading...
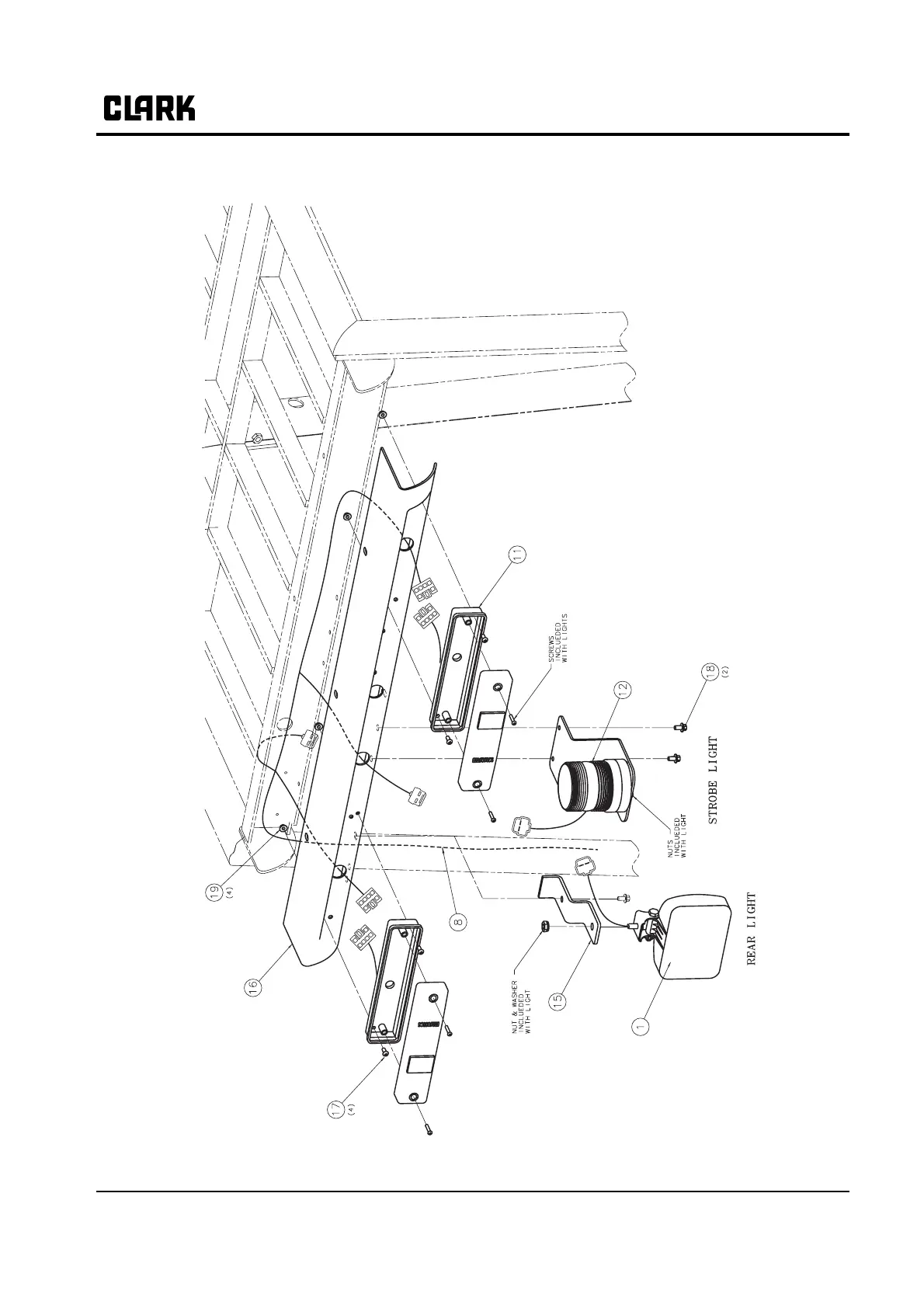
Group 13, Wiring, Switches, and Instruments
SM 765, Nov ’06 Wiring and Cables • 13-3-19

Table of Contents

Related product manuals