EasyManua.ls Logo

Eaton 9155 N - 9.3.1.2 Turn UPS from Mechanical Bypass to Normal Mode

Eaton 9155 N
99 pages
Print Icon
To Next Page IconTo Next Page
To Next Page IconTo Next Page
To Previous Page IconTo Previous Page
To Previous Page IconTo Previous Page
Loading...
P-164000341 8-10 kVA, 50/60 Hz (1-phase input) &
8-15 kVA, 50/60 Hz (3-phase input)
61
Revision 1 User's Guide
2. Use the UPS LCD commands to transfer the UPS to static bypass mode. Remember to verify
the transfer before proceeding to the next step.
3. Turn the S1 bypass switch to the ON position to bypass the UPS and to disconnect the UPS
output:
4. Use the UPS LCD commands to turn the UPS OFF.
5. Turn the battery breaker F1 and the rectifier input breaker F2 to the OFF position.
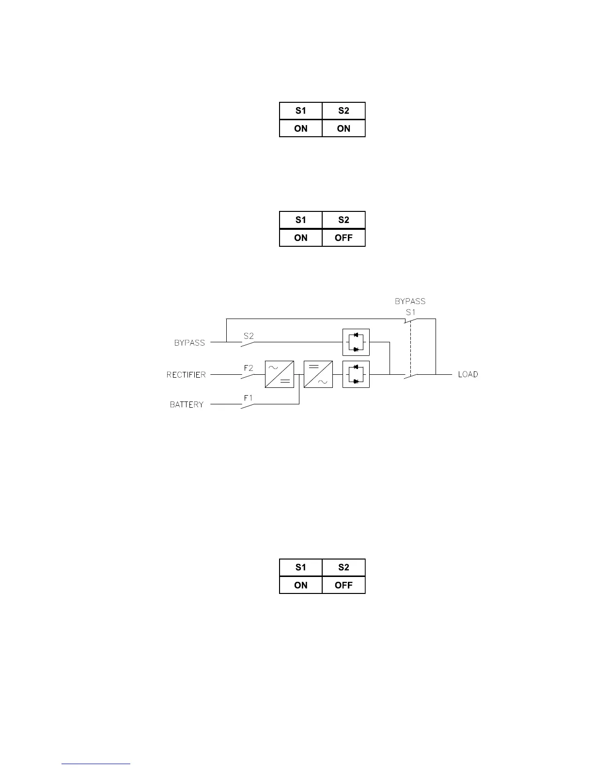
6. Turn the S2 switch to the OFF position to disconnect the UPS static bypass input:
7. The UPS is now in the mechanical bypass mode, see below:
Figure 9-3: The positions of the MBS switches in the mechanical bypass mode
9.3.1.2 Turn UPS from mechanical bypass to normal mode
The procedure to turn the UPS back to normal mode is described below.
1. The normal start position should be as shown below:
2. Turn the S2 switch to the ON position to connect the static bypass input to the UPS:

Table of Contents

Related product manuals