EasyManua.ls Logo

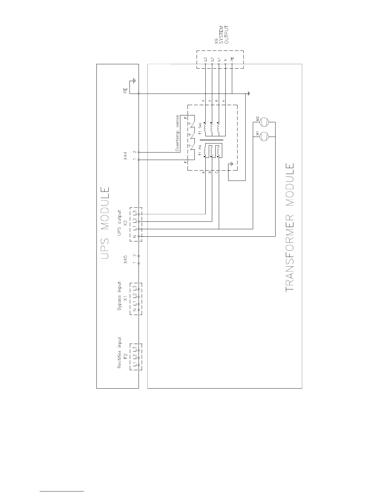
Eaton 9155 N - Figure 13-3: Internal Transformer Wirings for 9355 NT Model

Eaton 9155 N
99 pages
Print Icon
To Next Page IconTo Next Page
To Next Page IconTo Next Page
To Previous Page IconTo Previous Page
To Previous Page IconTo Previous Page
Loading...
P-164000341 8-10 kVA, 50/60 Hz (1-phase input) &
8-15 kVA, 50/60 Hz (3-phase input)
87
Revision 1 User's Guide
Figure 13-3: Internal transformer wirings for 9355 NT model

Table of Contents

Related product manuals