EasyManua.ls Logo

Festo CP-E08-M8-CL - Mounting

Festo CP-E08-M8-CL
134 pages
Print Icon
To Next Page IconTo Next Page
To Next Page IconTo Next Page
To Previous Page IconTo Previous Page
To Previous Page IconTo Previous Page
Loading...
3. Output module type CP−A04−M12−CL
3−5
Festo P.BE−CPEA−CL−E N en 0711a
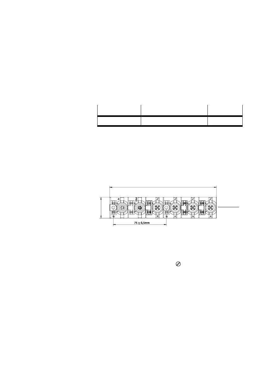
3.2 Mounting
The output module is intended for fitting onto a wall or onto
profiles. Take into account the following dimensions and
weights:
Type
Dimensions Weight
CP−A04−M12−CL approx. 151 x 30 x 34.5 mm approx. 165 g
Tab.3/2: Dimensions of output module
Fitting onto a wall The following diagram shows the dimensions for the holes of
screw size M4. Always fasten each module with 2 screws and
a locking disc.
Tightening torque of the fastening screws: 2 ± 0.5 Nm.
1 Output module
type CP−A04−M12−CL
1
approx. 151 mm
approx. 30 mm
Fig.3/2: Fitting dimensions CP−A04−M12−CL
Tip:
The position of the fastening screws on clipped−in drawing
plates is marked with the symbol
.

Table of Contents

Related product manuals