EasyManua.ls Logo

FISCHER FT90 - Devices with Switching and Analog Outputs; Circuit

FISCHER FT90
108 pages
Print Icon
To Next Page IconTo Next Page
To Next Page IconTo Next Page
To Previous Page IconTo Previous Page
To Previous Page IconTo Previous Page
Loading...
3 | Assembly FISCHER Mess- und Regeltechnik GmbH
20/108 BA_EN_FT90
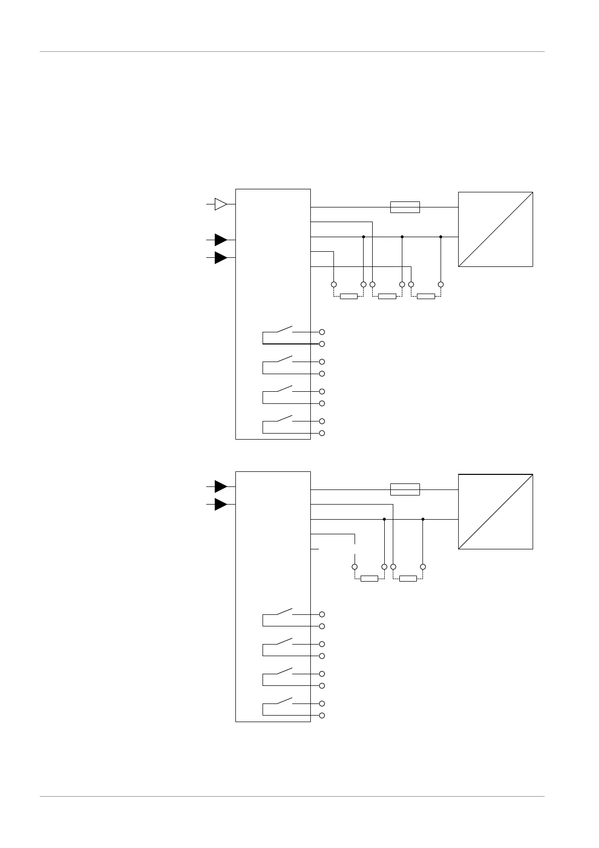
3.4.3 Devices with switching and analog outputs
3.4.3.1 Circuit
The device is connected in a 3-wire circuit as described below. The admissible
load/impedance is stated in the technical data. The connection is performed us-
ing a prefabricated sensor connection cable (see the accessories). Alternatively,
a prefabricated M12 connector can be used.
NOTICE!The protection class of the housing can be guaranteed only if an
IP65 connecting plug is used.
Version dP/T/rH
V
in
GND
FT90
Channel 1
U
Channel 2
Auxiliary energy
AC/DC
b
U
b
+
-
F1
Δp
T
1
3
4
2
(~)
(~)
1
2
3
4
SP1
SP2
ST2
5
6
7
8
SP3
SP4
Switch output 1
Switch output 2
Switch output 3
Switch output 4
ST1
5
Channel 3
%rH
FF90
+ -
R
L
+
-
R
L
+ -
R
L
OUT2
+A
+A
OUT1
+A
OUT3
outp. 1 Outp. 2 Outp. 3
Fig.17: 3-channel version
Version T/rH
V
in
GND
FT90
U
Channel 1
Auxiliary energy
AC/DC
b
U
b
+
-
F1
T
1
3
4
2
(~)
(~)
1
2
3
4
SP1
SP2
ST2
5
6
7
8
SP3
SP4
Switch output 1
Switch output 2
Switch output 3
Switch output 4
ST1
5
Channel 2
%rH
FF90
+ -
R
L
+
-
R
L
OUT2
+A
+A
OUT1
+A
OUT3
Outp. 1 Outp. 2
No connection
Fig.18: 2-channel version

Table of Contents

Related product manuals