EasyManua.ls Logo

Huawei NetEngine 8000 F - Page 635

Huawei NetEngine 8000 F
729 pages
Print Icon
To Next Page IconTo Next Page
To Next Page IconTo Next Page
To Previous Page IconTo Previous Page
To Previous Page IconTo Previous Page
Loading...
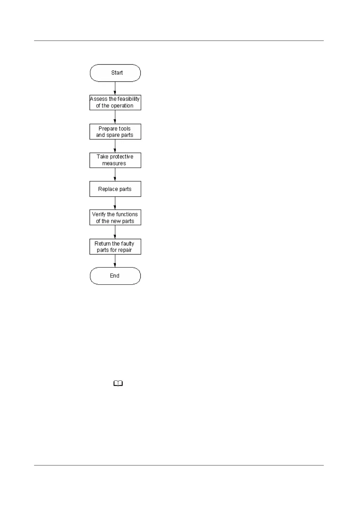
Figure 4-271 Basic operation process of replacing parts
Procedure
1. Assess the feasibility of the operation.
During the process of troubleshooting or repairing a device, maintenance
personnel must assess whether the operation is feasible before replacing a
certain part.
a. Whether the needed spare parts are available in the depot.
b. Whether the maintenance personnel is
qualied for carrying out the
operation.
NO TE
Parts replacement can be carried out only by maintenance personnel who are
professionally trained. That is, maintenance personnel must familiarize
themselves with the functions of each part of the device, know the basic
operation process of parts replacement, and master the basic skills of parts
replacement.
c. Whether the risks of the operation can be controlled.
HUAWEI NetEngine 8000 F
Hardware Guide 4 Hardware Installation and Parts Replacement
Issue 05 (2023-03-31) Copyright © Huawei Technologies Co., Ltd. 624

Table of Contents

Related product manuals