EasyManua.ls Logo

Lorenz Compact 7 Plus - Page 92

Default Icon
112 pages
Print Icon
To Next Page IconTo Next Page
To Next Page IconTo Next Page
To Previous Page IconTo Previous Page
To Previous Page IconTo Previous Page
Loading...
94 User Manual
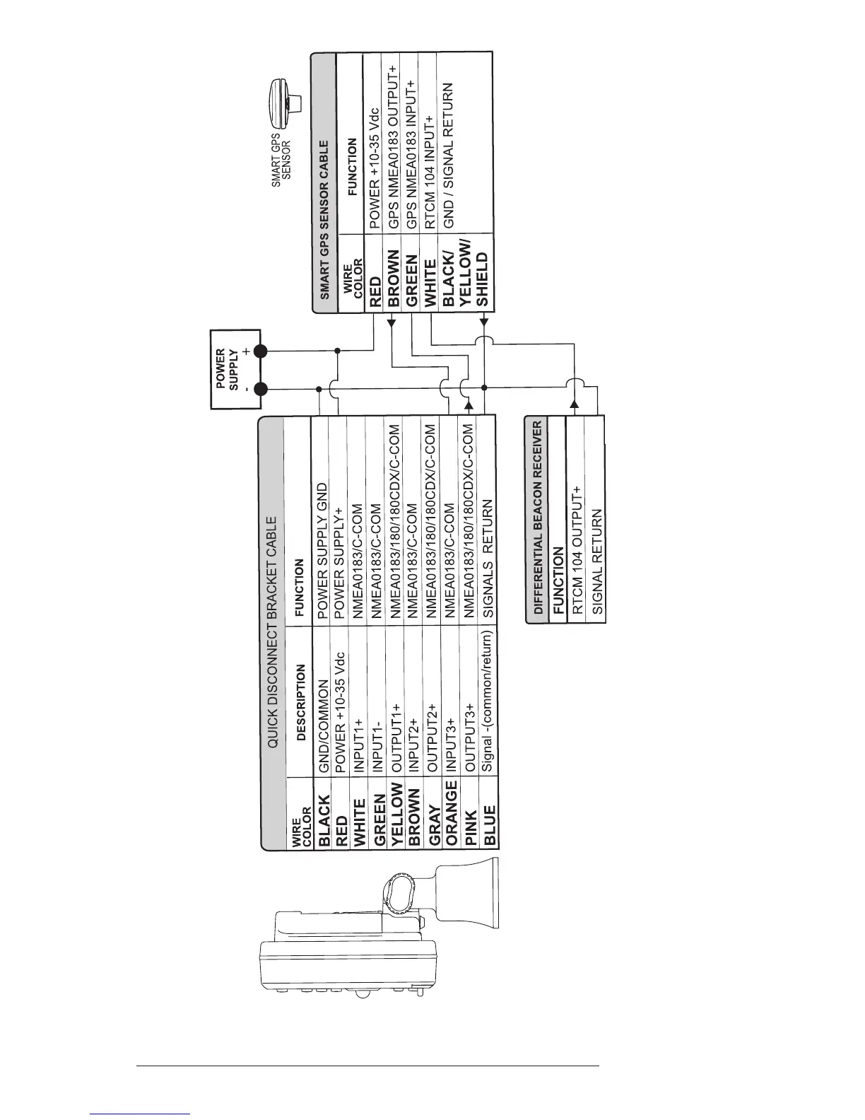
Fig. 6.4a - GPS Connection on Port 3 for chartplotter with external GPS receiver

Table of Contents

Related product manuals