EasyManua.ls Logo

micro-trak SprayMate II - Appendix G: NH3 System Specifics; NH3 Wiring Diagram

micro-trak SprayMate II
74 pages
Print Icon
To Next Page IconTo Next Page
To Next Page IconTo Next Page
To Previous Page IconTo Previous Page
To Previous Page IconTo Previous Page
Loading...
52
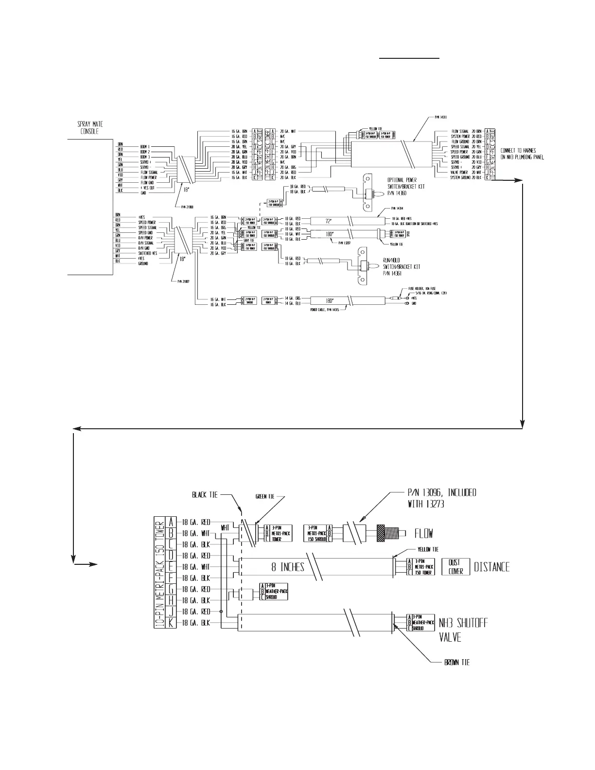
Appendix G: SprayMate II Wiring Diagram for NH3
Flow Signal
System Power
Flow Ground
Speed Signal
Speed Power
Speed Ground
Servo -
Servo +
Valve Power
System Ground

Table of Contents

Related product manuals