EasyManua.ls Logo

Milltronics AIRANGER DPL PLUS - Bic-II; Isolated Outputs

Milltronics AIRANGER DPL PLUS
109 pages
Print Icon
To Next Page IconTo Next Page
To Next Page IconTo Next Page
To Previous Page IconTo Previous Page
To Previous Page IconTo Previous Page
Loading...
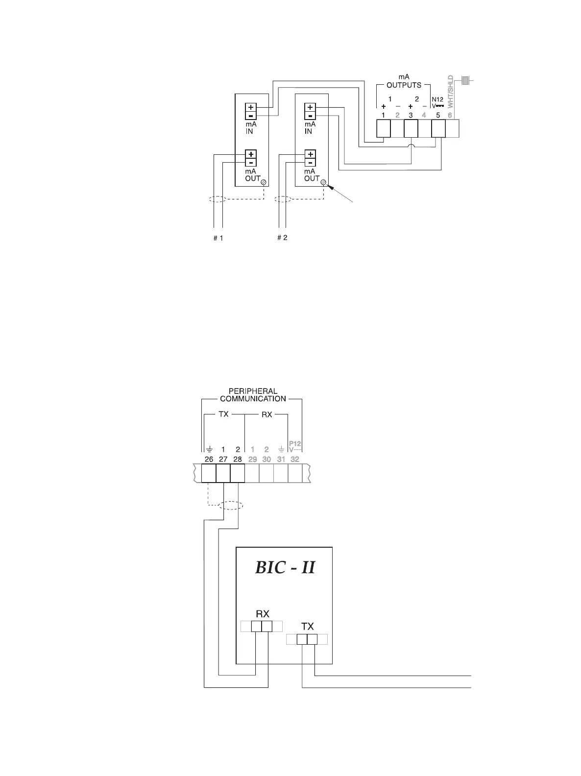
ISOLATED OUTPUTS (optional)
LIs-1 isolators are factory installed when ordered with the DPL+. If an isolator kit is installed on site, refer to
the LIs-1 Isolator instruction bulletin for additional installation details.
BIC-II
Connect the Milltronics BIC-II (if required) to the Peripheral Communications terminals as follows.
Refer to PL-371 for specific
BIC-II terminal connections.
To RS-232C or
RS-422 host device.
Max run 15 m (50 ft).
Beldon 8760 (or
equivalent) 18 AWG, 2
wire, shielded/ twisted.
Max run 1500 m (5000 ft).
Ground shield at one end only. Recommend
grounding at LIs-1 mounting screw.
isolated 4-20 mA output
wiring into 600
max.
Route output wiring cable in
separate conduit, entering
enclosure as near as
possible to isolator.
Keep wiring as short as
possible. Do not route cable
along terminal board.
PL-508 14

Table of Contents

Other manuals for Milltronics AIRANGER DPL PLUS

Related product manuals