EasyManua.ls Logo

Nilfisk-Advance BR 751 - Page 29

Nilfisk-Advance BR 751
Print Icon
To Next Page IconTo Next Page
To Next Page IconTo Next Page
To Previous Page IconTo Previous Page
To Previous Page IconTo Previous Page
Loading...
MANUALE DI ASSISTENZA
ITALIANO
BR 601 / BR 651 / BR 751 / BR 751 C 909 6424 000(3)2007-12
27
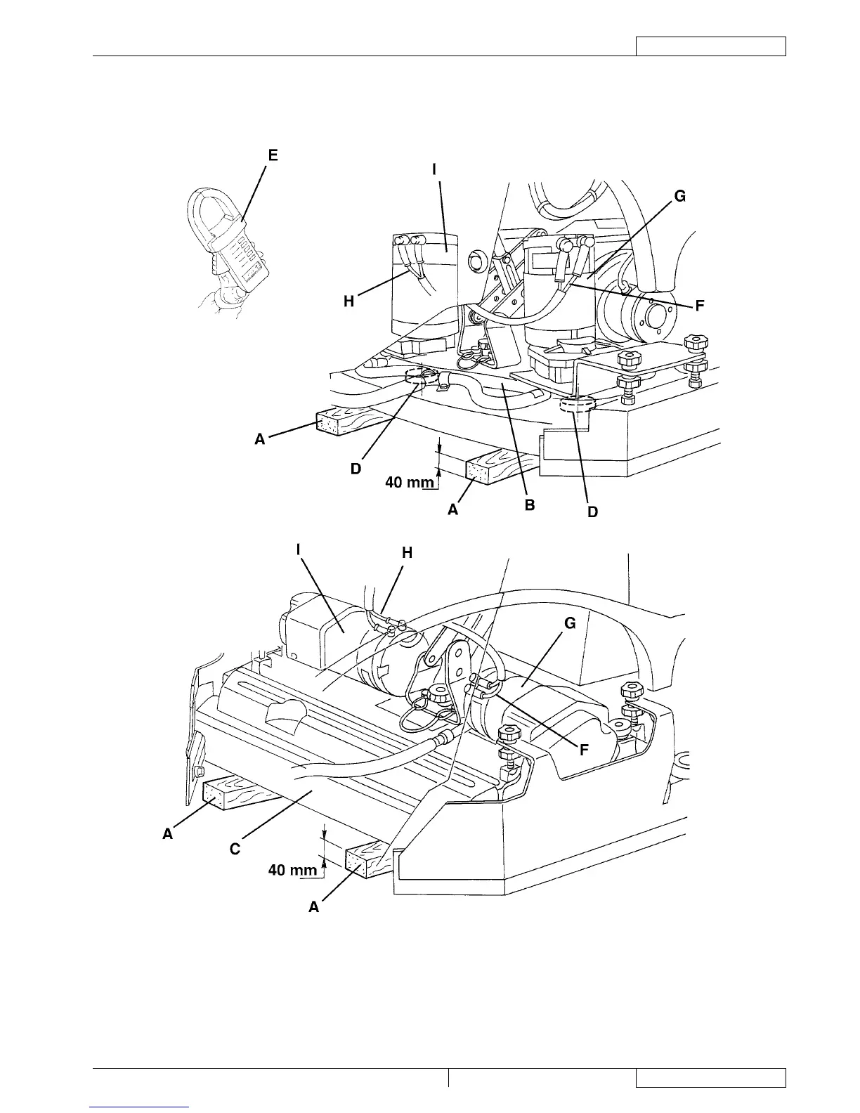
IMPIANTO DI SPAZZOLATURA
CONTROLLO DELL'ASSORBIMENTO ELETTRICO DEI MOTORI DELLE SPAZZOLE (Continua)
S301326

Table of Contents