EasyManua.ls Logo

SAME SILVER 100.4 - Page 173

Default Icon
470 pages
Print Icon
To Next Page IconTo Next Page
To Next Page IconTo Next Page
To Previous Page IconTo Previous Page
To Previous Page IconTo Previous Page
Loading...
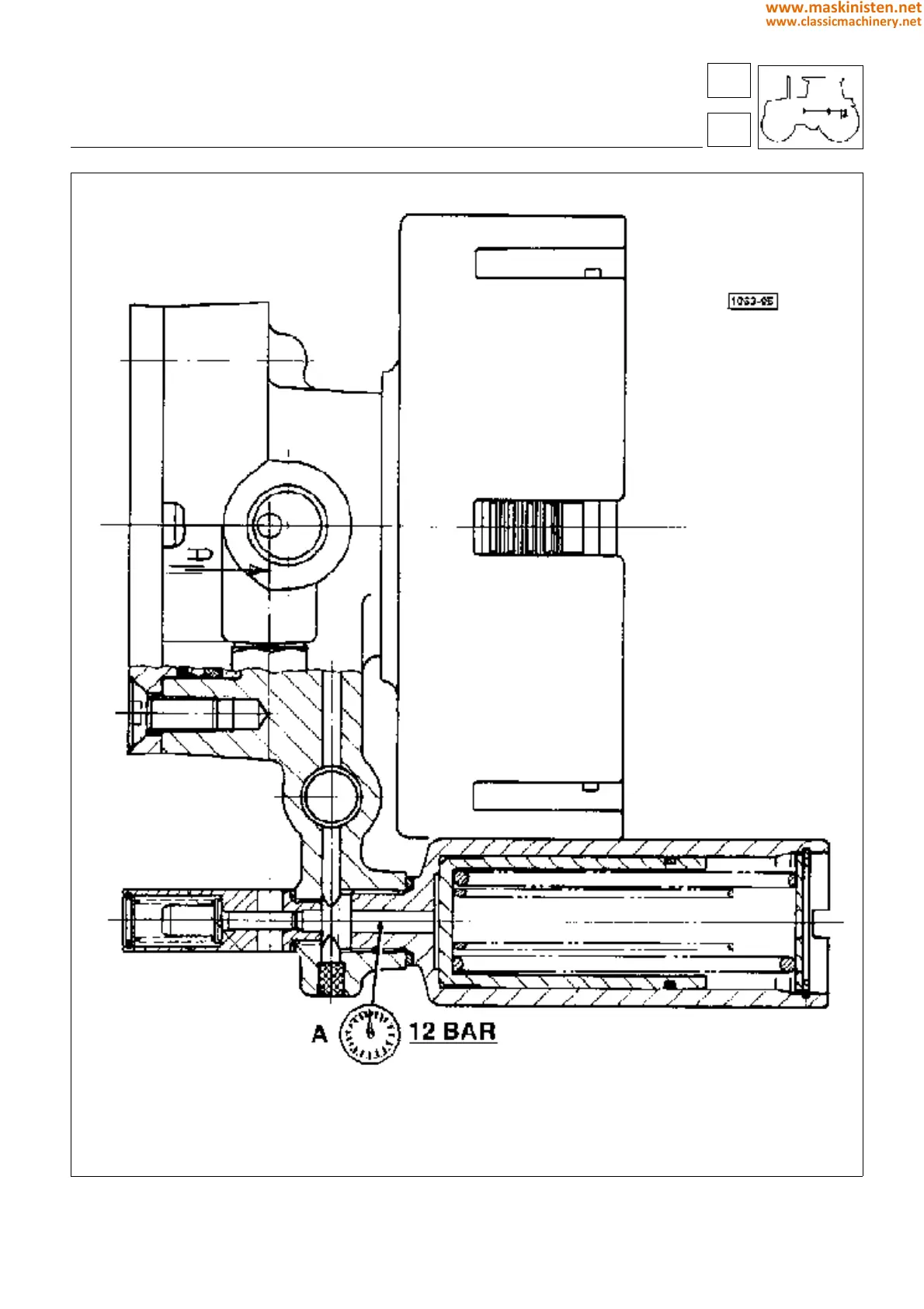
Fig. 12 - Operating pressure control valve for mechanically or electrohydrauliclly operated P.T.O. clutch assembly.
A - Gauge utilized to check operating pressure in the P.T.O. circuit.
transmission
power take-off
36
3
173
www.maskinisten.net
www.classicmachinery.net

Table of Contents

Related product manuals