EasyManua.ls Logo

SAME SILVER 100.4 - Adjustment of Anti-Hunting Device

Default Icon
470 pages
Print Icon
To Next Page IconTo Next Page
To Next Page IconTo Next Page
To Previous Page IconTo Previous Page
To Previous Page IconTo Previous Page
Loading...
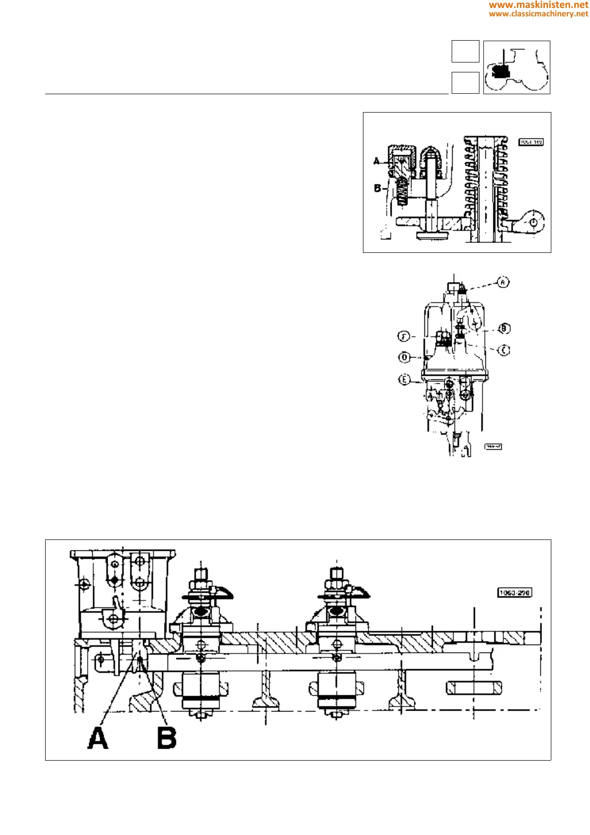
Adjusting anti-hunting device
(Fig. 23)
This adjustment is to be made only in the event of engine hunting
at engine maximum idling speed.
Loosen bush A until being sure that spring B is not protruding
inside the governor casing.
Start the engine and run to peak speed.
Screw in the bush so as to bring the spring close to the hunting
system until hunting dampening is felt.
Warning: the engine idling speed variation obtained through the
anti-hunting device should never exceed 20 r.p.m.
Sealing engine governor
The governor is fitted with sealing points, indicated in figure 23 bis,
with the letters A - B - C - D - E - F.
Before starting any operations during the warranty period consult
the local After-Sales Service.
Installing the governor (fig. 24)
Fit the governor by engaging the control fork A in the pawl B of the pump control shaft and securing it in position with
the relative screws.
Then manually check through the injection pump control rod access window that the control rod moves freely and that
the STOP control operates correctly.
Fig. 24 - Installing the mechanical governor.
Fig. 23 - Engine anti-hunting system..
Fig. 23 bis - Governor sealing points.
engine
fuel system
16
1
63
www.maskinisten.net
www.classicmachinery.net

Table of Contents

Related product manuals