EasyManua.ls Logo

SAME SILVER 100.4 - Page 395

Default Icon
470 pages
Print Icon
To Next Page IconTo Next Page
To Next Page IconTo Next Page
To Previous Page IconTo Previous Page
To Previous Page IconTo Previous Page
Loading...
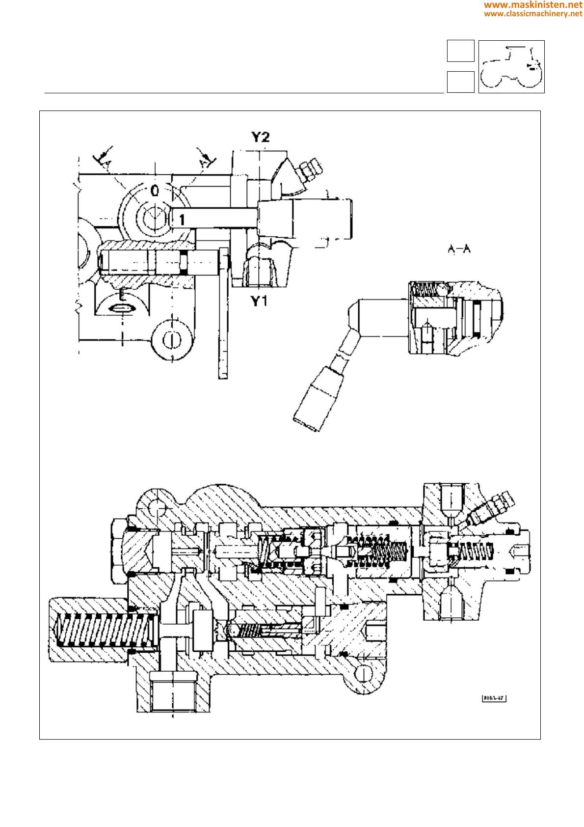
Fig. 6 - Section through brake control valve for trailer equipped with safety brake (ITALY version).
89
8
systems
trailer braking system
395
www.maskinisten.net
www.classicmachinery.net

Table of Contents

Related product manuals