EasyManua.ls Logo

Schaerer 7300 - Page 94

Schaerer 7300
231 pages
Print Icon
To Next Page IconTo Next Page
To Next Page IconTo Next Page
To Previous Page IconTo Previous Page
To Previous Page IconTo Previous Page
Loading...
SECTION IV
MAINTENANCE / SERVICE
(4) Install floor lock cylinder (9) on base weldment
(3) and secure with setscrew (8).
(5) Secure setscrew (8) in place with jam nut (7).
(6) Install caster (5) on caster fork (6) and secure
by tightening two locknuts (4).
Page 4-60Printed in U.S.A.
(7) Install battery cover (2) on base weldment (3)
and secure with five screws (1).
(8) Raise table to its upright position.
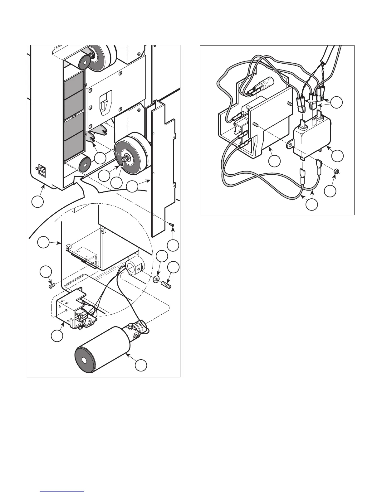
Figure 4-63. RFI Filter Access
HA5504-00
1
3
7
8
5
6
9
10
11
4
3
2
HA5512-00
5
2
4
3
1
Figure 4-64. RFI Filter Removal / Installation
© Schaerer Mayfield USA, Inc. 2004

Table of Contents

Other manuals for Schaerer 7300