EasyManua.ls Logo

SICK DUSTHUNTER T - Page 396

SICK DUSTHUNTER T
552 pages
To Next Page IconTo Next Page
To Next Page IconTo Next Page
To Previous Page IconTo Previous Page
To Previous Page IconTo Previous Page
Loading...
GM35 Operating Instructions
Probe Model
Commissioning
60 © SICK MAIHAK GmbH • Germany · All rights reserved 8009389/07-2006
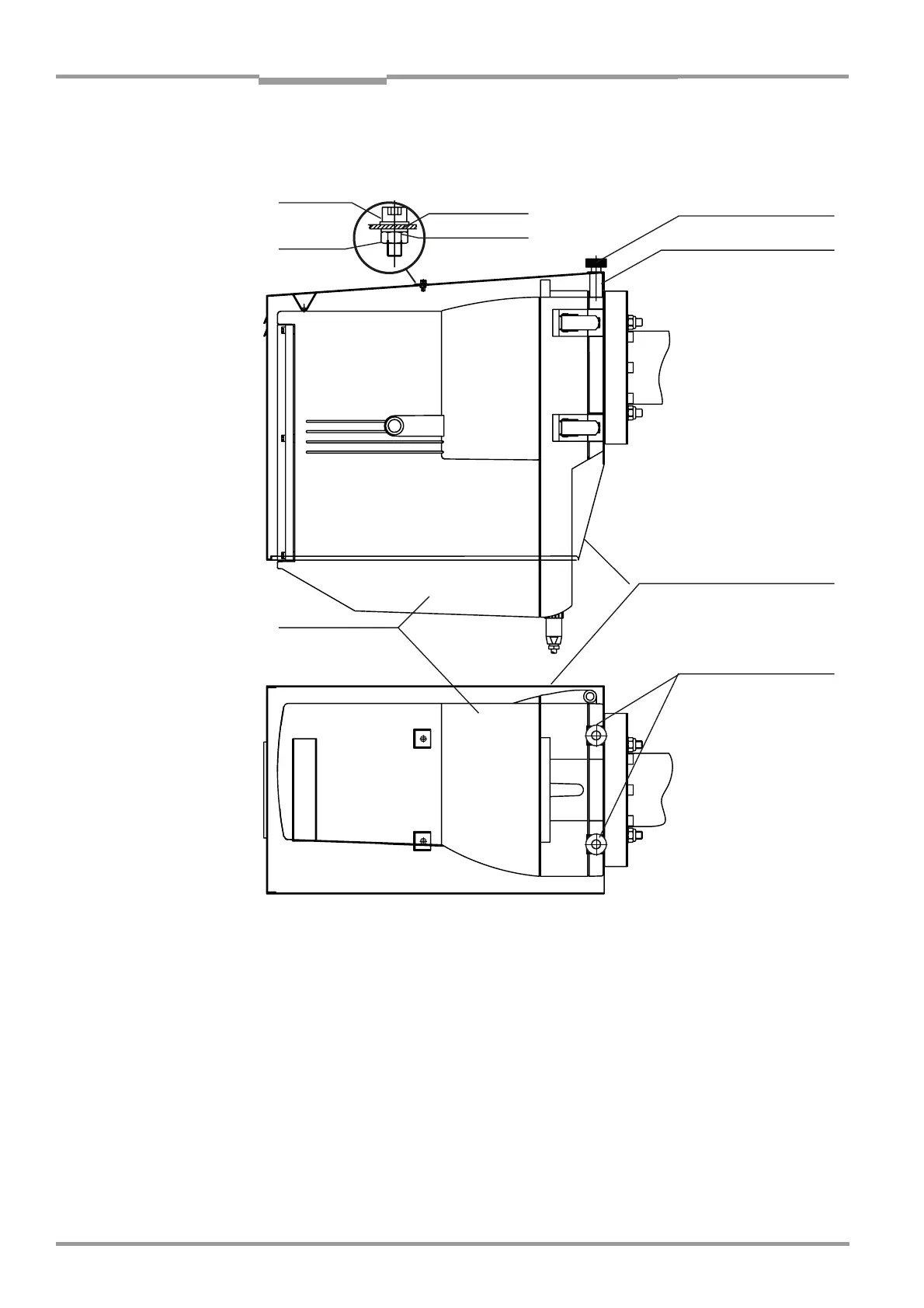
6.5.5 Weatherproof cover
The weatherproof cover is used if the measuring system is operated outdoors.
Fig. 34 Mounting the weatherproof cover for the GM35 SR unit
As shown in Fig. 34, bond the two spacer pins supplied in a central position on the flange
attachment of the SR unit at a distance of 170 mm to each other, that is, so that each
pin is located 85 mm from the center To do so, we recommend that you use a quick-
drying epoxy resin adhesive.
Seal the two unused fixing holes in the center of the weatherproof cover using dummy
screws as shown in Fig. 34.
Mount the weatherproof cover on the SR unit. The threads of the spacer pins now pro-
trude through the front fixing holes on the weatherproof cover.
Fix the weatherproof cover in position using the two knurled nuts.
A dimensioned drawing of the weatherproof cover is provided on Page page 137.
GM35 SR unit
2 spacer pins,
secured with
adhesive
Weatherproof cover
2 knurled nuts
Washer
Spring lock
washer
Screw
Nut
Spacer pins with
knurled nuts

Table of Contents

Related product manuals