EasyManua.ls Logo

Siemens Simatic S7-400

Siemens Simatic S7-400
472 pages
To Next Page IconTo Next Page
To Next Page IconTo Next Page
To Previous Page IconTo Previous Page
To Previous Page IconTo Previous Page
Loading...
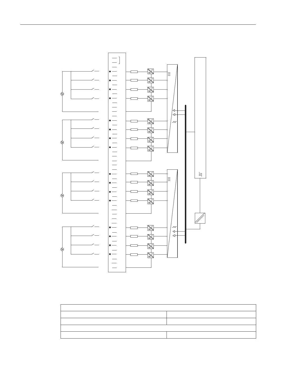
Wiring and block diagram of the SM 421; DI 16 x UC 120/230 V
1
2
3
4
5
6
7
8
9
10
11
12
13
14
15
16
17
18
19
20
21
22
23
24
25
26
27
28
29
30
31
32
33
34
35
36
37
38
39
40
41
42
43
44
45
46
47
48
4 N
3 N
1
2
0
3
5
6
4
7
5
6
4
7
1
2
0
3
1N
2N
Process Module
Data register and bus control
Figure 4-8 Wiring and block diagram of the SM 421; DI 16 x UC 120/230 V
Specifications of the SM 421; DI 16 x UC 120/230 V
Dimensions and weight
Dimensions W x H x D (mm) 25 x 290 x 210
Weight Approx. 650 g
Module-specific data
Number of inputs 16
Digital modules
4.11 Digital input module SM 421; DI 16 x UC 120/230 V (6ES7 421-1FH00-0AA0)
S7-400 Automation System Module Data
120 Reference Manual, Ausgabe 11/2016, A5E00850736-08

Table of Contents

Other manuals for Siemens Simatic S7-400

Related product manuals