EasyManua.ls Logo

Siemens Simatic S7-400 - Page 146

Siemens Simatic S7-400
472 pages
To Next Page IconTo Next Page
To Next Page IconTo Next Page
To Previous Page IconTo Previous Page
To Previous Page IconTo Previous Page
Loading...
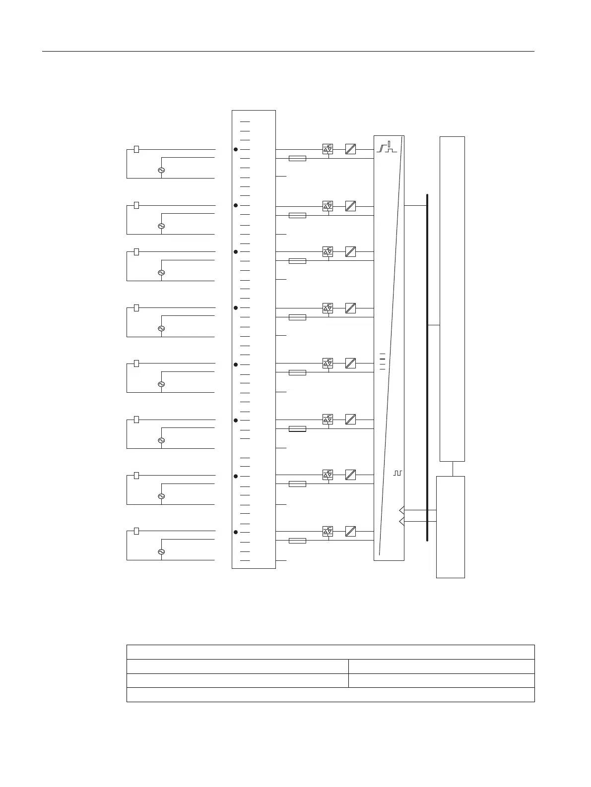
Connection and circuit diagram for SM 422; DO 8 x AC 120/230 V/5 A
1
2
3
4
5
6
7
8
9
10
11
12
13
14
15
16
17
18
19
20
21
22
23
24
25
26
27
28
29
30
31
32
33
34
35
36
37
38
39
40
41
42
43
44
45
46
47
48
1L
1N
1
2L
0
7L
7N
7
8L
6
3L
3N
3
4L
2
5L
5N
5
6L
4
t
F100
F200
F300
F400
F500
F600
F700
F800
6N
8N
2N
4N
INFT
EXTF
Process Module
Data register and bus control
LED control
Figure 4-15 Connection and circuit diagram for SM 422; DO 8 x AC 120/230 V/5 A
Technical specifications for SM 422; DO 8 x AC 120/230 V/5 A
Dimensions and weight
Dimensions W x H x D (mm) 25 x 290 x 210
Weight ca. 800 g
Module-specific data
Digital modules
4.18 Digital output module SM 422; DO 8 x AC 120/230 V/5 A (6ES7422-1FF00-0AA0)
S7-400 Automation System Module Data
146 Reference Manual, Ausgabe 11/2016, A5E00850736-08

Table of Contents

Other manuals for Siemens Simatic S7-400

Related product manuals