EasyManua.ls Logo

Siemens Simatic S7-400

Siemens Simatic S7-400
472 pages
To Next Page IconTo Next Page
To Next Page IconTo Next Page
To Previous Page IconTo Previous Page
To Previous Page IconTo Previous Page
Loading...
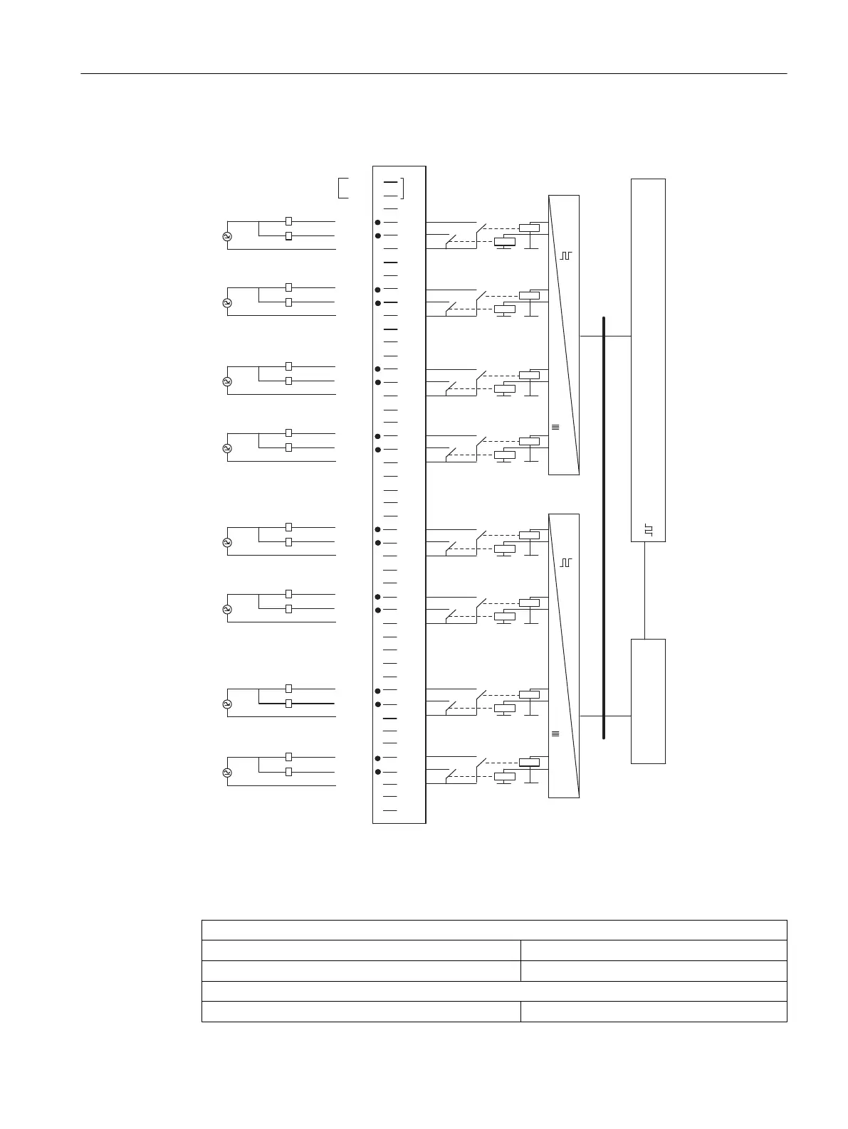
Connection and circuit diagram for SM 422, DO 16 x UC 30/230 V/Rel. 5 A
1
2
3
4
5
6
7
8
9
10
11
12
13
14
15
16
17
18
19
20
21
22
23
24
25
26
27
28
29
30
31
32
33
34
35
36
37
38
39
40
41
42
43
44
45
46
47
48
1L
2L
3L
5L
4L
6L
7L
8L
1
0
2
3
6
7
0
1
3
2
5
4
7
6
4
5
Process Module
Data memory and bus control
LED control
Front connector jumper
Figure 4-18 Connection and circuit diagram for SM 422, DO 16 x UC 30/230 V/Rel. 5 A
Technical specifications for SM 422, DO 16 x UC 30/230 V/Rel. 5 A
Dimensions and weight
Dimensions W x H x D (mm) 25 x 290 x 210
Weight ca. 700 g
Module-specific data
Number of outputs 16
Digital modules
4.21 Relay output module SM 422; DO 16 x UC 30/230 V/Rel. 5 A (6ES7422-1HH00-0AA0)
S7-400 Automation System Module Data
Reference Manual, Ausgabe 11/2016, A5E00850736-08 159

Table of Contents

Other manuals for Siemens Simatic S7-400

Related product manuals