EasyManua.ls Logo

Suzuki F6A - Other Mechanisms; Oil Cooler; Selector Lever

Suzuki F6A
202 pages
Print Icon
To Previous Page IconTo Previous Page
To Previous Page IconTo Previous Page
Loading...
200
OTHER MECHANISMS
OIL PUMP
A trochoid type oil pump is installed on the AT case input shaft side.
It is driven by means of a torque converter shell case. Thus, when the engine stops, lubrication is not performed in the
AT.
1
2
FWD
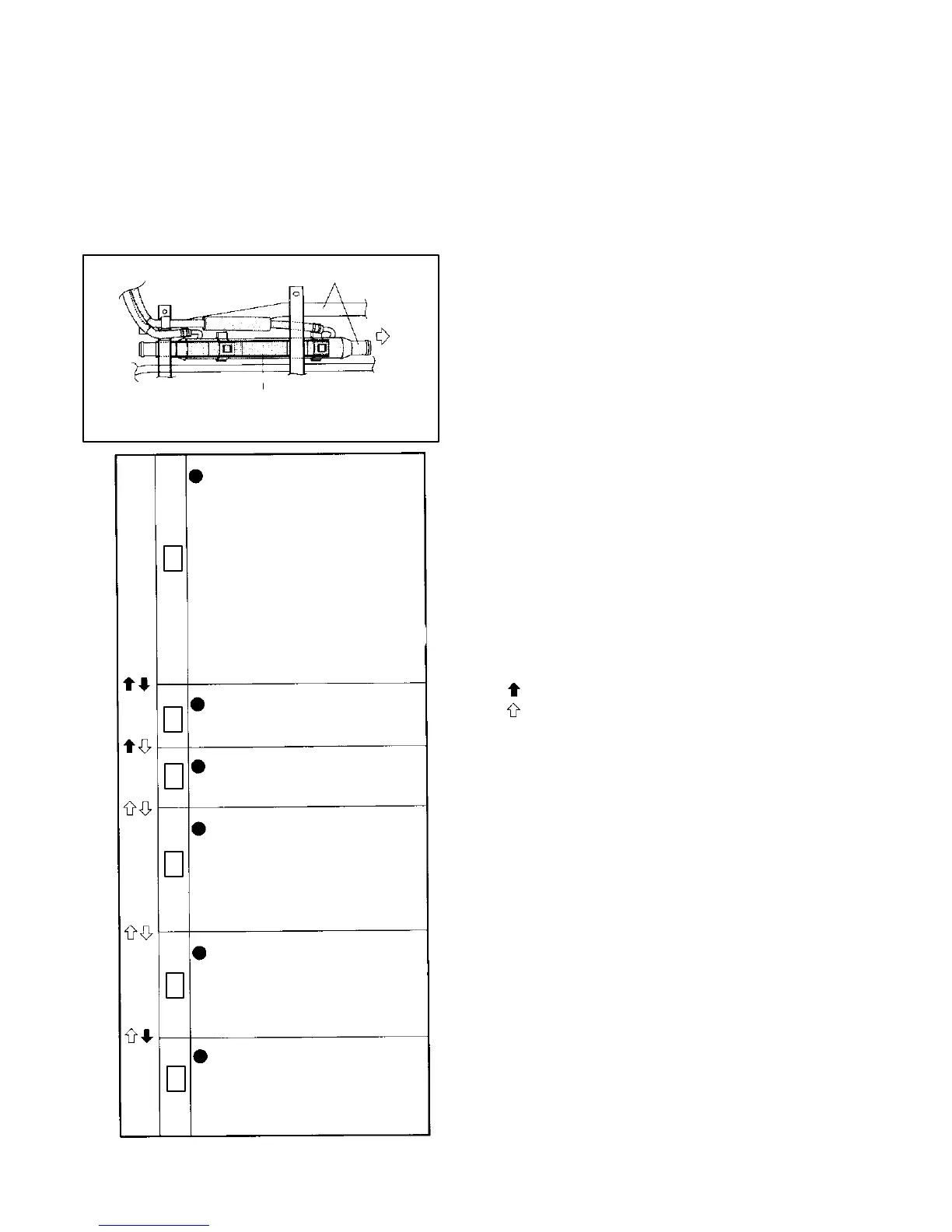
1. OIL COOLER
2. WATER PIPE
OIL COOLER
A pipe type oil cooler is installed on the radiator outlet
pipe.
SELECTOR LEVER
Floor shift models have a selector lever in the center
console area.
N D 2 can be selected freely, but PàR, NàR, and 2àL
cannot be selected unless the button is pressed.
In order to prevent operational error, a key interlock
mechanism and shift locked mechanism are used,
and a reverse warning device is used, which notifies
the driver that the transmission is in the R region by
sounding a warning tone when the vehicle is in
reverse.
operate by pushing button
operated without pushing button
P
Output shaft of the mission is
mechanically locked.
Engine can start.
Key interlock mechanism of
ignition Key is released.
When ignition key is ON, when
button is pushed while brake
pedal is depressed, shift to
other range is possible.
Parking position
Can be used when car is
backed up.
Reverse position
Neutral position
Engine can be started.
R
N
D
Shifts automatically according
to vehicle speed and accelera-
tor opening among 1
st
2
nd
3
rd
4
th
gears. (However,
up to 3rd gear when 0/D OFF.)
Normal drive position
2
L
Automatically shifts between
1
st
2
nd
.
Position used when engine
brake is applied, or fixing at 2nd
gear
Used when ascending steep
slopes or when strong engine
brake is required for descend-
ing.
1st gear position

Table of Contents

Related product manuals