EasyManua.ls Logo

Technogym RUN 600 XTPRO - Wiring Diagram for the 220 Model with Non- Coded Receiver; Connectors

Technogym RUN 600 XTPRO
158 pages
Print Icon
To Next Page IconTo Next Page
To Next Page IconTo Next Page
To Previous Page IconTo Previous Page
To Previous Page IconTo Previous Page
Loading...
RUN 600 XTPRO: Service & Maintenance Manual - rev. 1.3
Page 2.2
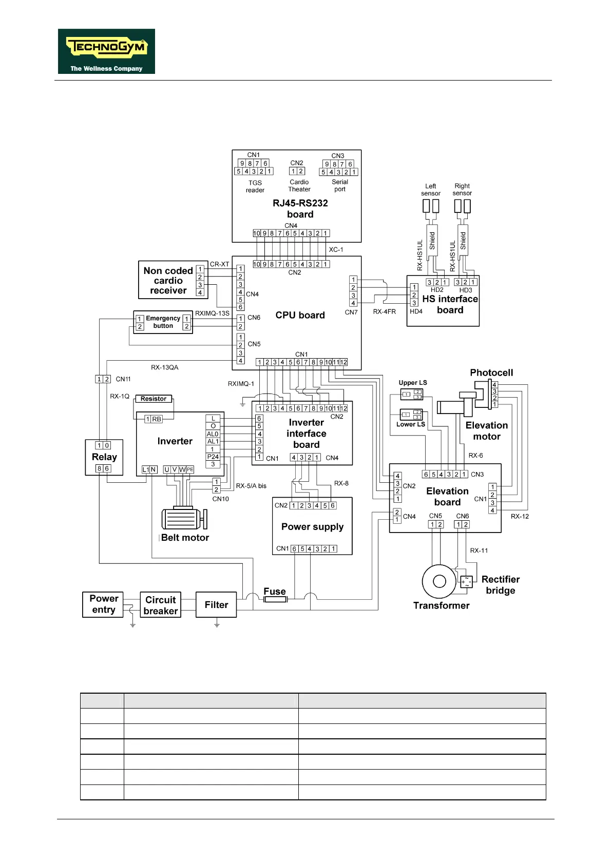
2.5. WIRING DIAGRAM FOR THE 220 MODEL WITH NON-
CODED RECEIVER
2.5.1. CONNECTORS
CPU board
Name type of connector connection
CN1 AMP MATE-N-LOCK 12 -pin F. to inverter interface board
CN2 Flat 10-pin to RJ45-RS232 board
CN4 AMP MODU II 6-pin M. to cardio receiver
CN5 AMP MODU II 4-pin M. to emergency button
CN6 AMP MODU II 2-pin M. to emergency button
CN7 AMP MODU II 4-pin M. to HS interface board

Table of Contents

Related product manuals