EasyManua.ls Logo

Thales 421 - Connecting Remote Control RMMC; Connection of Auxiliary Inputs;Outputs (LCP); Connection of Local Personal Computer; External Interfaces, Connections to Peripheral Equipment

Thales 421
256 pages
Print Icon
To Next Page IconTo Next Page
To Next Page IconTo Next Page
To Previous Page IconTo Previous Page
To Previous Page IconTo Previous Page
Loading...
LLZ 421
Installation Operation and Maintenance
ILS 420
2−20 Ed. 01.04SOAC
2.4.5 External Interfaces, Connections to peripheral Equipment
2.4.5.1 Connecting Remote Control RMMC
− Dedicated line modem LGM1200MD (Euro Modem): Connect a two wire line from RMMC to pins
1 and 2 of a SubD, 9pin, female connector and connect it to connector LGM1 on top of the cabinet.
NOTE: For LGM1200MD the ends of the dedicated line (station and remote side) have to be
terminated (600 ohms/47 nF parallel). The RC combination may be soldered to the
9pin SubD connector together with the two wire line.
Switched line modem LGM28.8 (Euro Modem): Connect a two wire line from PTT/RMMC to pins
1 and 2 of a SubD, 9pin female connector and connect it to connector LGM1 (or LGM2, if modem
assembled) on top of the cabinet.
The two wire line from/to RMMC or PSTN is fed via the AF distribution box (see Fig. 2−21).
2.4.5.2 Connection of Local Personal Computer
Connect V.24 cable (zero modem cable) with SubD, 9pin female plug from the PC to J12 PC/RS−232
on top of the cabinet.
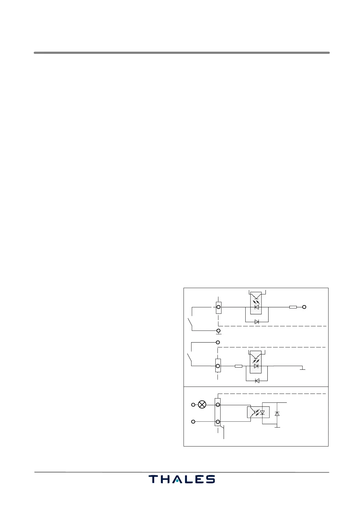
2.4.5.3 Connection of Auxiliary Inputs/Outputs (LCP)
The Navaids installation contains an auxiliary interface (on LCP board) with 16 optocoupler inputs and
16 optocoupler outputs for additional signals which is at the user’s disposal. The external wiring capa-
bility of the OIO connections is shown in Fig. 2−18. AF or DC signals from outside the shelter have
to be fed via the AF distribution box or equivalent if no further terminals available.
2k2
GND
2k2
IAUX n
GND
IAUX n
VCC (+5 V) / max. 24 V
OAUX n
log. 0= max. 0.3 mA
log. 1= min. 0.7 mA/max. 10 mA
VCC (+5 V)
log. 0= max. 0.3 mA
log. 1= min. 0.7 mA
dc
60 VDC
load max.
<2V or <2k7
COM1 used for OAUX0...3
COM3 used for OAUX4...7
COM4 used for OAUX8...11
COM2 used for OAUX12...15
outside
outside
OIO−IN conn.
OIO−OUT conn.
outside
IAUX 0...7 and IAUX 8...15 when active low
IAUX 8...15 when active high
(selectable with jumper bank X81...84, refer to 6.2.4.1)
OAUX 0...3/4...7/8...11/12...15
NOTE:
Only voltages in the SELV range (up to 60 VDC) must be
connected to connectors OAUX .
(SELV=Safety Extra Low Voltage)
GND
+
100 mA max.
Fig. 2−18 External wiring of auxiliary OIO connections of LCP

Table of Contents