EasyManua.ls Logo

Universal APX 525 - Page 39

Default Icon
243 pages
Print Icon
To Next Page IconTo Next Page
To Next Page IconTo Next Page
To Previous Page IconTo Previous Page
To Previous Page IconTo Previous Page
Loading...
APX 525/625 Generator Revision C Pre-Installation
©
2005 Del Medical Imaging Corporation
7/5/2005 Page 30
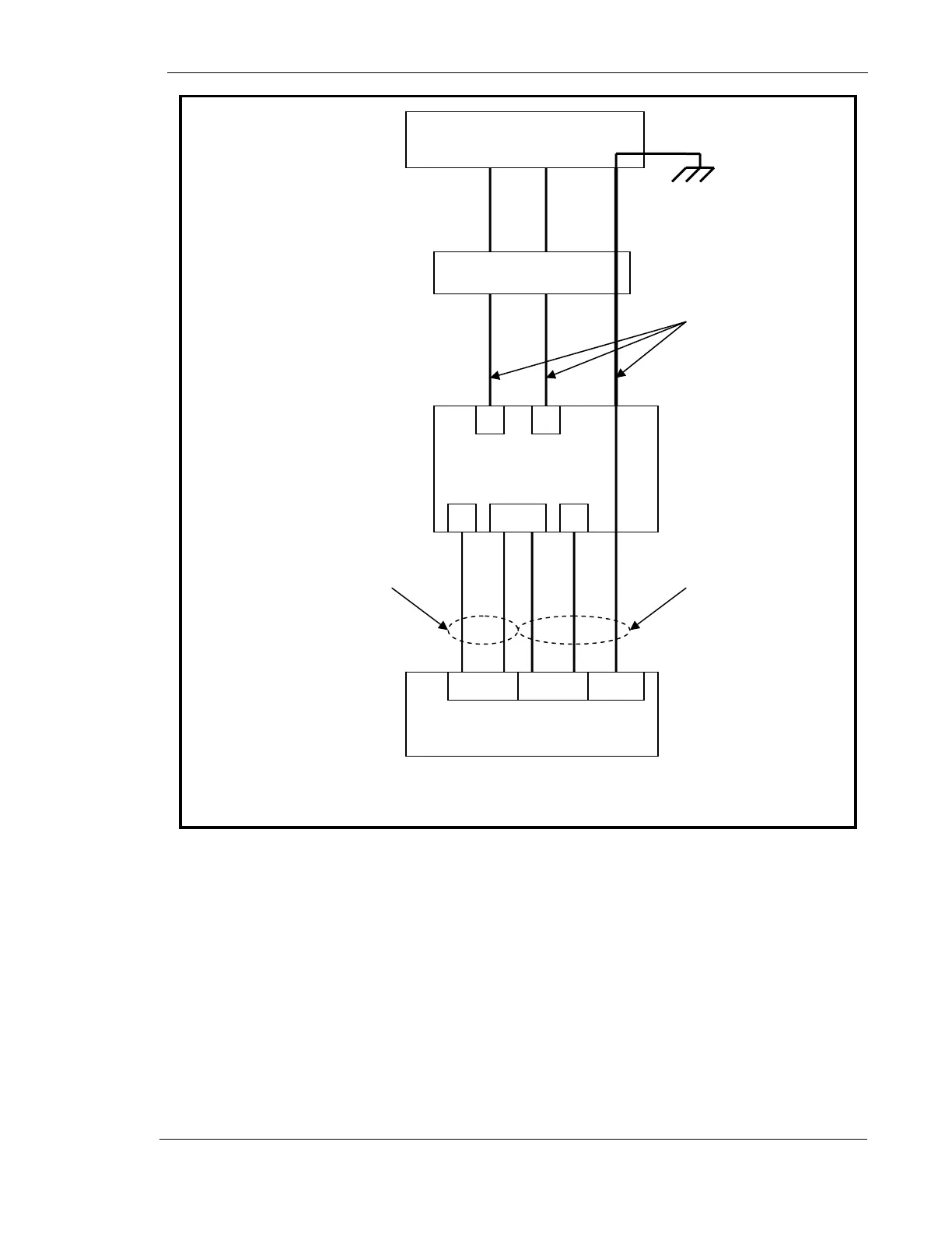
Interconnection Diagram – Single Phase Line Matching Transformer
DISTRIBUTION TRANSFORMER
MAINS DISCONNECT
SWITCH AND FUSES
SINGLE PHASE LINE
MATCHING XFMR
#636-0021P2
1
1
2
3 4
POWER MODULE
TS1 TS2
CABLE
#126-0211G1
2 COND. 16 AWG
CABLE
#126-0214G2
3 COND. #6 AWG
(208 VAC CONFIGURATION SHOWN)
CUSTOMER
SUPPLIED
INPUT WIRING
2 AC CONDUCTORS
AND 1 GROUND
GND
SINGLE PHASE LINE MATCH CONFIGURATION

Table of Contents