EasyManua.ls Logo

Valtra 6100 - Page 1055

Valtra 6100
1361 pages
Print Icon
To Next Page IconTo Next Page
To Next Page IconTo Next Page
To Previous Page IconTo Previous Page
To Previous Page IconTo Previous Page
Loading...
998
Model Code Page
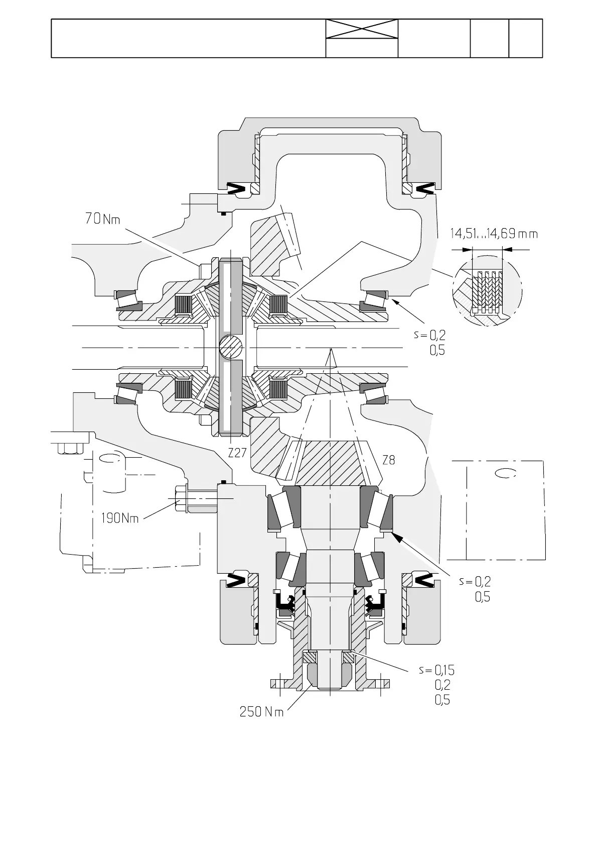
65. Industrial front axle
1. 1. 1994
6000--8750 651 4
Picture 3. Differential and bevel pinion shaft.
Apply grease between the lip seal lips.
Oilfeltgasketbeforefitting.

Table of Contents