EasyManua.ls Logo

Valtra 6100 - Page 739

Valtra 6100
1361 pages
Print Icon
To Next Page IconTo Next Page
To Next Page IconTo Next Page
To Previous Page IconTo Previous Page
To Previous Page IconTo Previous Page
Loading...
192
18420
6000--8750
1. 9. 2002
Model Code Page
42 Gearbox
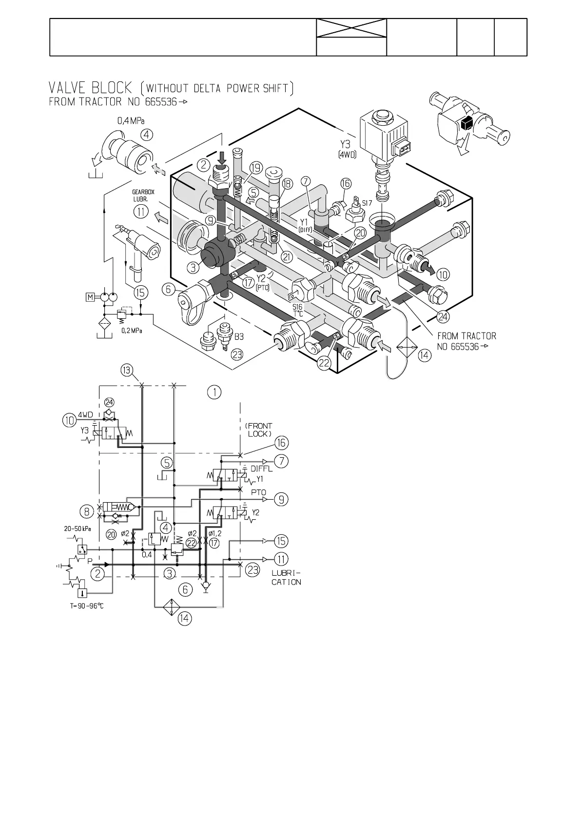
Picture 20A. For oil to the differential lock solenoid (Y1)
has been drilled an own passage with effect from tractor
serial number 665536 ---> (at the same time the passage
between the PTO solenoid (Y2) and solenoid (Y1) has
been removed).
In this way is prevented the pressure drop of the PTO
clutch when engaging simultaneously the differential
lock.
1) Valve block
2) Oil from the pump.
3 ) P r e s s u r e r e l i e f v a l v e , 1 , 8 --- 1 , 9 M P a ( 1 8 --- 1 9 b a r ) .
4) Safety val ve 0,4 MPa (4 bar). Protects the system e.g.
in wintertime, when oil is is stiff in the oil cooler.
5) Tank passage for the solenoid valves.
6) Measurement point (Valmet HPR, connecting
thread M16).
7)Pressureoiltothedifferentiallock.
8) Damping valve for the PTO, includes parts 18, 19, 21.
9) Pressure oil to PTO multi ---disc clutch.
10) Pressure oil to 4WD multi ---disc clutch.
11) To the gearbox lubrication.
13) ---
14) Oil cooler (Note! In case the oil cooler is damaged,
do not plug the hoses, but use a by ---pass hose).
15) Connection to the return line from the working
hydraulics.
16) Plug (for the front axle differential lock.
17) Restriction hole 1,2 mm) in the screw eliminates
the pressure drop, when engaging PTO solenoid.
18) Pi ston, dampi ng valve for PTO.
19) Ball, damping valve for PTO.
20) Ø 2mm throttle eliminates the pressure drop, when
engaging 4WD solenoid valve.
21) Ball valve, PTO damping system.
22) Ø 2mm restriction hole eliminates the press. drop,
when engaging the differential lock.
23) Temperature sender unit for Agrodata --- display
(opti onal equipment).
24) Restriction/counter valve 1,6 mm restriction
hole) prevents the pressure drop in the system, when
the 4WD has been disengaged, e.g. when braking.
From tractor no 668118 --->.

Table of Contents

Related product manuals