EasyManua.ls Logo

Wacker Neuson G 240 - Page 61

Wacker Neuson G 240
254 pages
Print Icon
To Next Page IconTo Next Page
To Next Page IconTo Next Page
To Previous Page IconTo Previous Page
To Previous Page IconTo Previous Page
Loading...
wc_tx003618gb_FM10.fm
61
Mobile Generator
Operation (Basler Controller)
Continued from the previous page.
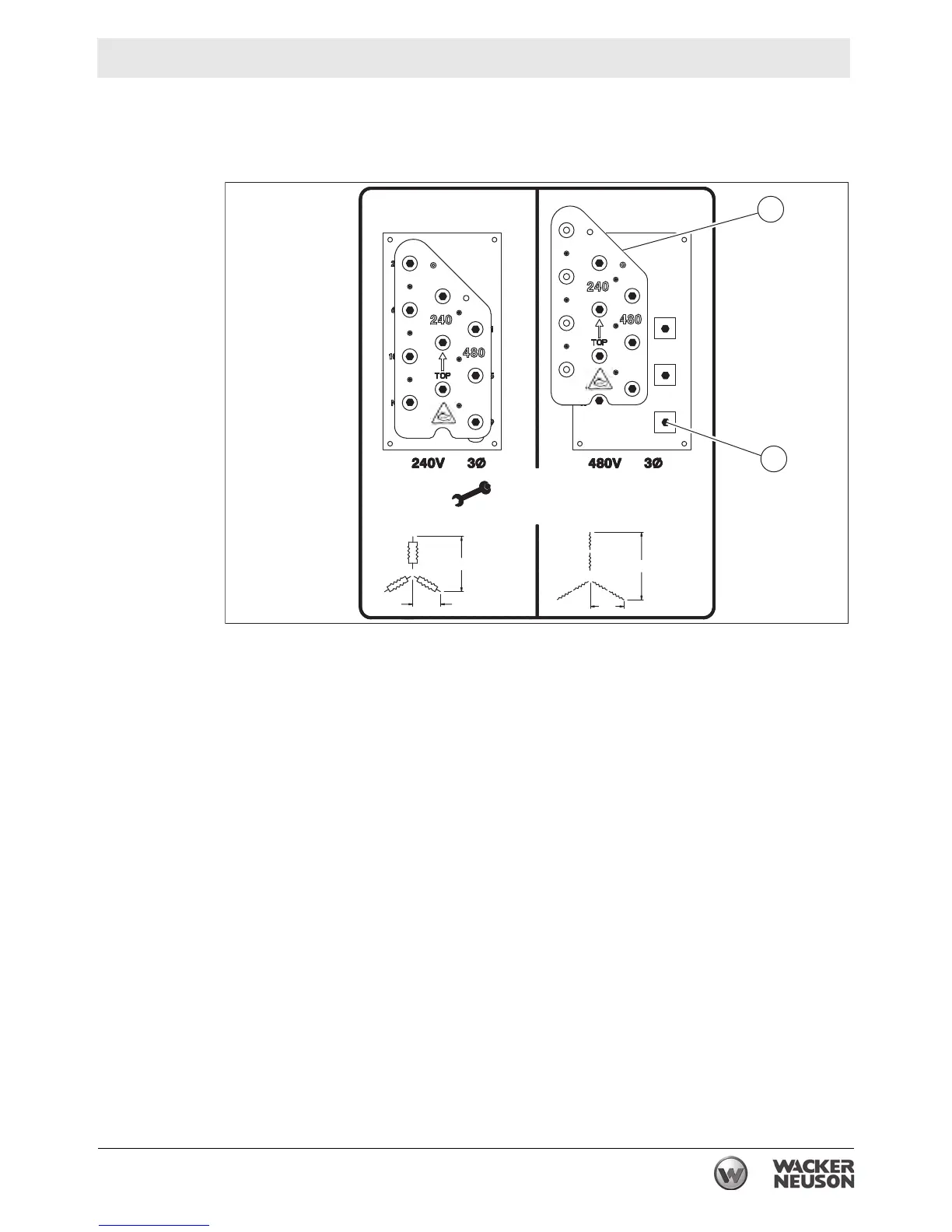
Description
The voltage selector mechanically changes the connections between the generator
output leads and the terminal lugs on the generator.
Selecting the
voltage
To select the voltage:
1. Remove the screws (b).
2. Move the plate (c) to the desired position.
3. Re-install the screws. Torque the screws to 40 Nm (29.5 ft.lbs.).
This procedure continues on the next page.
= 40Nm (29.5 Ft Lbs)
L3-N = 277V
L1-L2= 480V
L2-N = 277V
L1-N = 277V
L3-L1= 480V
L2-L3= 480V
L1
1
2
N
4
3
8
L-L
12
5
6
L-N
L2
10
L3
9
7
11
L-L
L2-N = 120V
L1-L2= 208V
L3-N = 120V
L1-N = 120V
L2
L3-L1= 208V
L2-L3= 208V
5
2
6
1
N
4
12
3
11
L1
9
L3
10
8
7
L-N
wc_gr010390
b
c

Table of Contents

Other manuals for Wacker Neuson G 240