EasyManua.ls Logo

WittRock Integris 2001 - Ground Receptacles

Default Icon
302 pages
Print Icon
To Next Page IconTo Next Page
To Next Page IconTo Next Page
To Previous Page IconTo Previous Page
To Previous Page IconTo Previous Page
Loading...
Ground Receptacles
Chapter 5: Parts List
Ground Receptacles
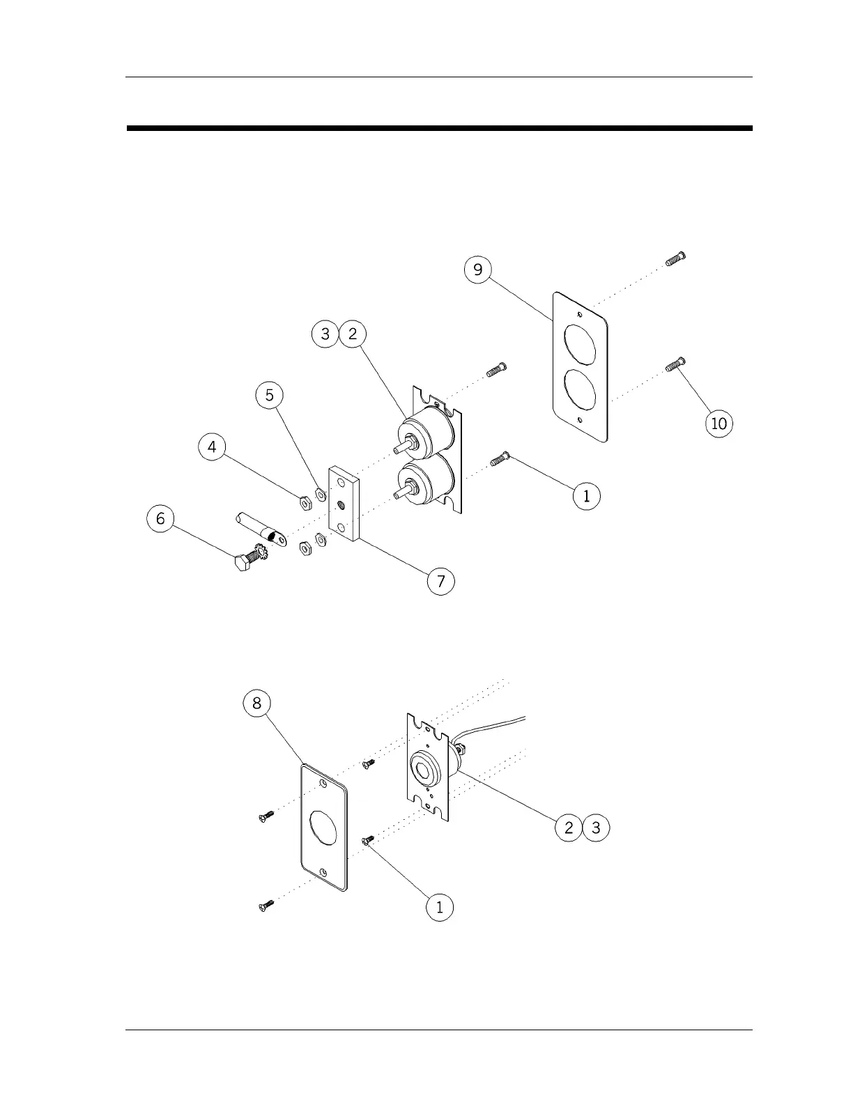
Figure 5-22. Ground Receptacles
m148a034
Page 5 - 54 Integris® 2001 Headwall System Service Manual (man148ra)

Table of Contents