EasyManua.ls Logo

WittRock Integris 2001 - Universal Holder (P102302) P2001

Default Icon
302 pages
Print Icon
To Next Page IconTo Next Page
To Next Page IconTo Next Page
To Previous Page IconTo Previous Page
To Previous Page IconTo Previous Page
Loading...
Universal Holder (P102302) P2001
Chapter 5: Parts List
Universal Holder (P102302) P2001
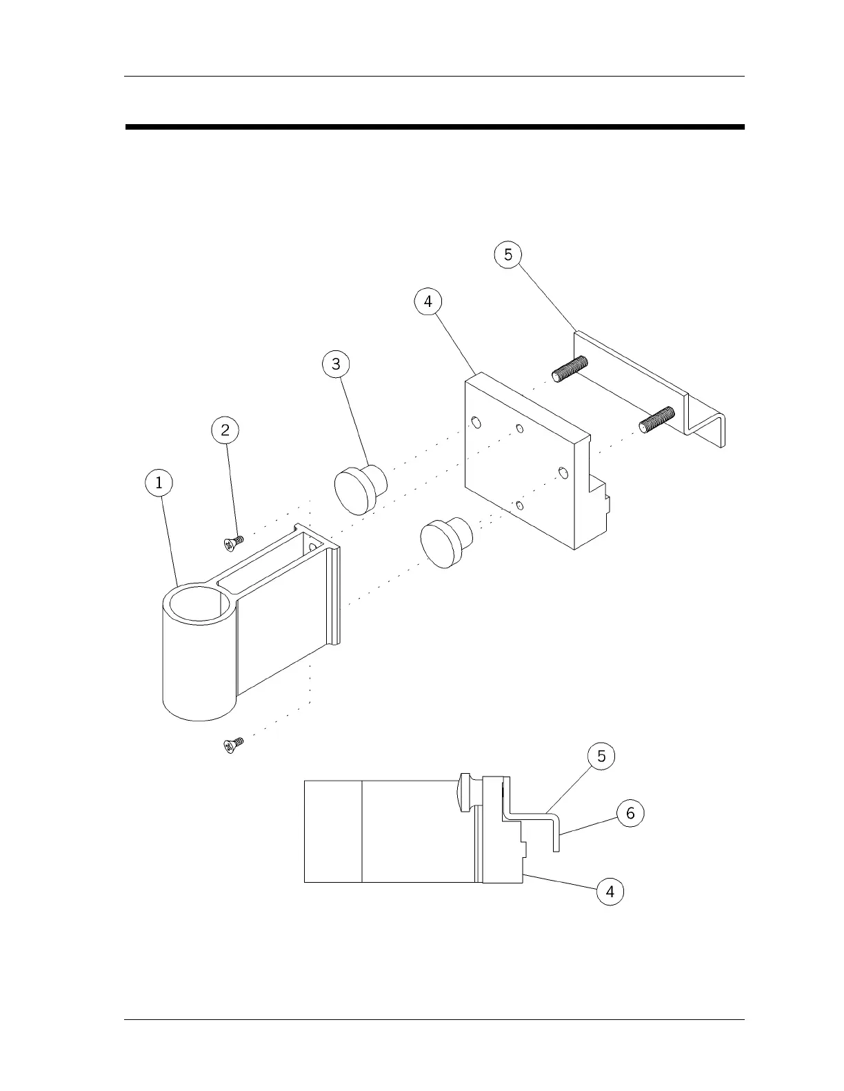
Figure 5-35. Universal Holder (P102302) P2001
m148a048
Page 5 - 82 Integris® 2001 Headwall System Service Manual (man148ra)

Table of Contents