EasyManua.ls Logo

WittRock Integris 2001 - Timed Light Switch

Default Icon
302 pages
Print Icon
To Next Page IconTo Next Page
To Next Page IconTo Next Page
To Previous Page IconTo Previous Page
To Previous Page IconTo Previous Page
Loading...
Timed Light Switch
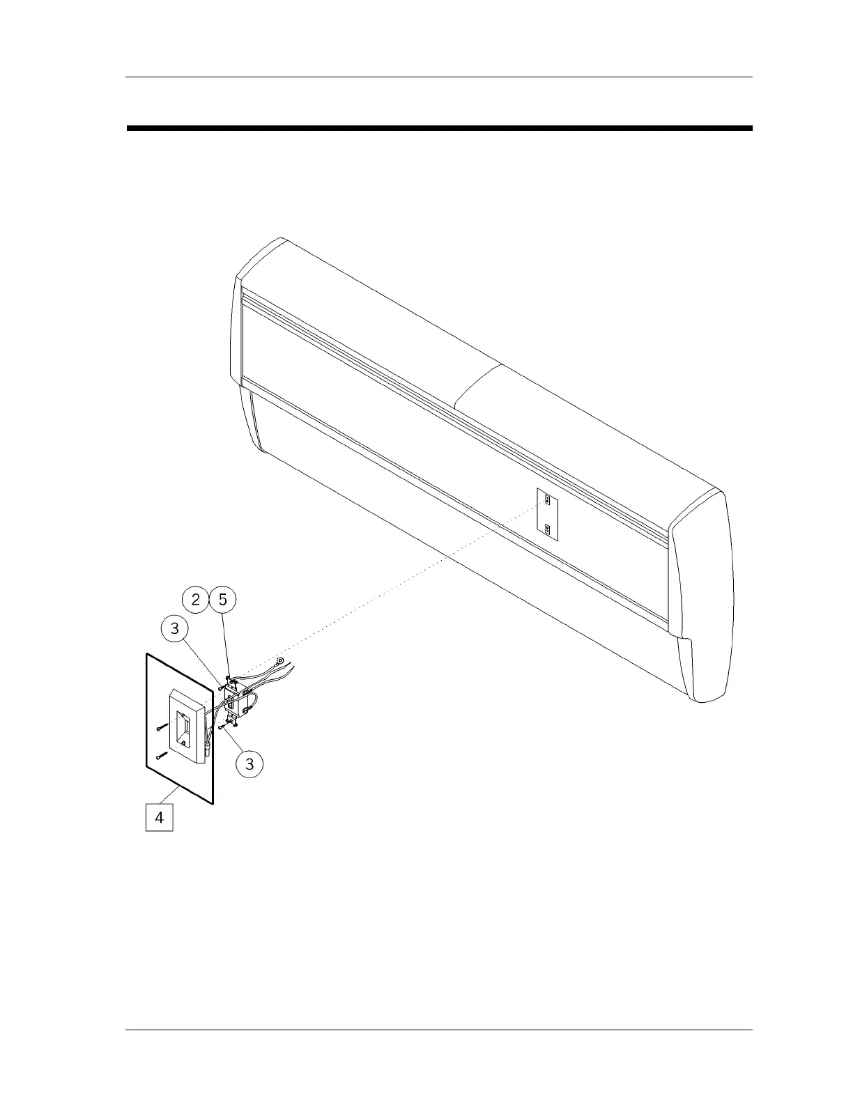
Chapter 5: Parts List
Timed Light Switch
Figure 5-24. Timed Light Switch
m148a036
Page 5 - 58 Integris® 2001 Headwall System Service Manual (man148ra)

Table of Contents