EasyManua.ls Logo

WittRock Integris 2001 - Utility Mount, Dual Post (P170004-01) P2001 B

Default Icon
302 pages
Print Icon
To Next Page IconTo Next Page
To Next Page IconTo Next Page
To Previous Page IconTo Previous Page
To Previous Page IconTo Previous Page
Loading...
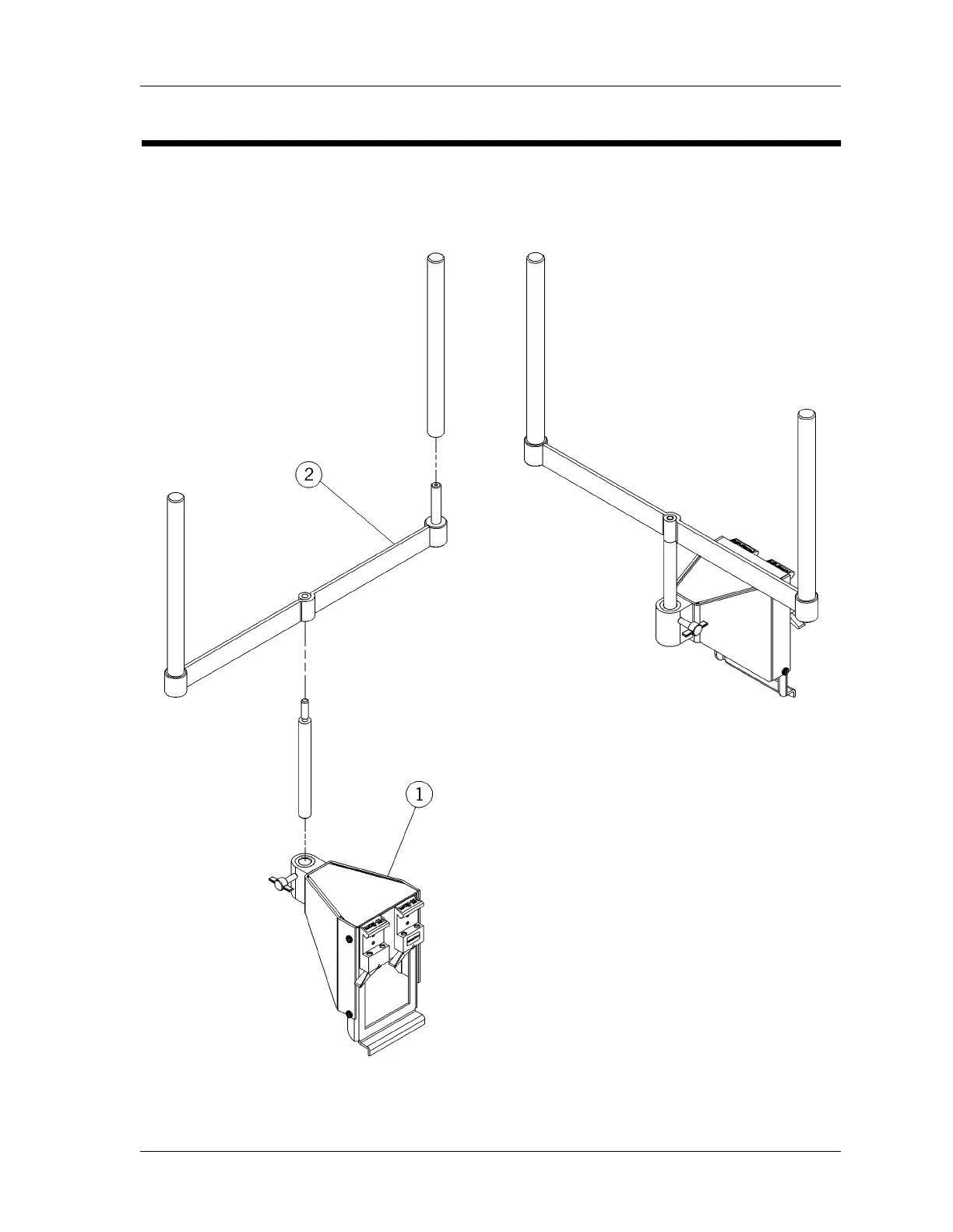
Utility Mount, Dual Post (P170004-01) P2001B
Chapter 5: Parts List
Utility Mount, Dual Post (P170004-01) P2001B
Figure 5-41. Utility Mount, Dual Post (P170004-01) P2001B
m148a072
Page 5 - 96 Integris® 2001 Headwall System Service Manual (man148ra)

Table of Contents