EasyManua.ls Logo

WittRock Integris 2001 - CC Basket Assembly, Swivel (P170105-01) P2001 B

Default Icon
302 pages
Print Icon
To Next Page IconTo Next Page
To Next Page IconTo Next Page
To Previous Page IconTo Previous Page
To Previous Page IconTo Previous Page
Loading...
CC Basket Assembly, Swivel (P170105-01) P2001B
Chapter 5: Parts List
CC Basket Assembly, Swivel (P170105-01) P2001B
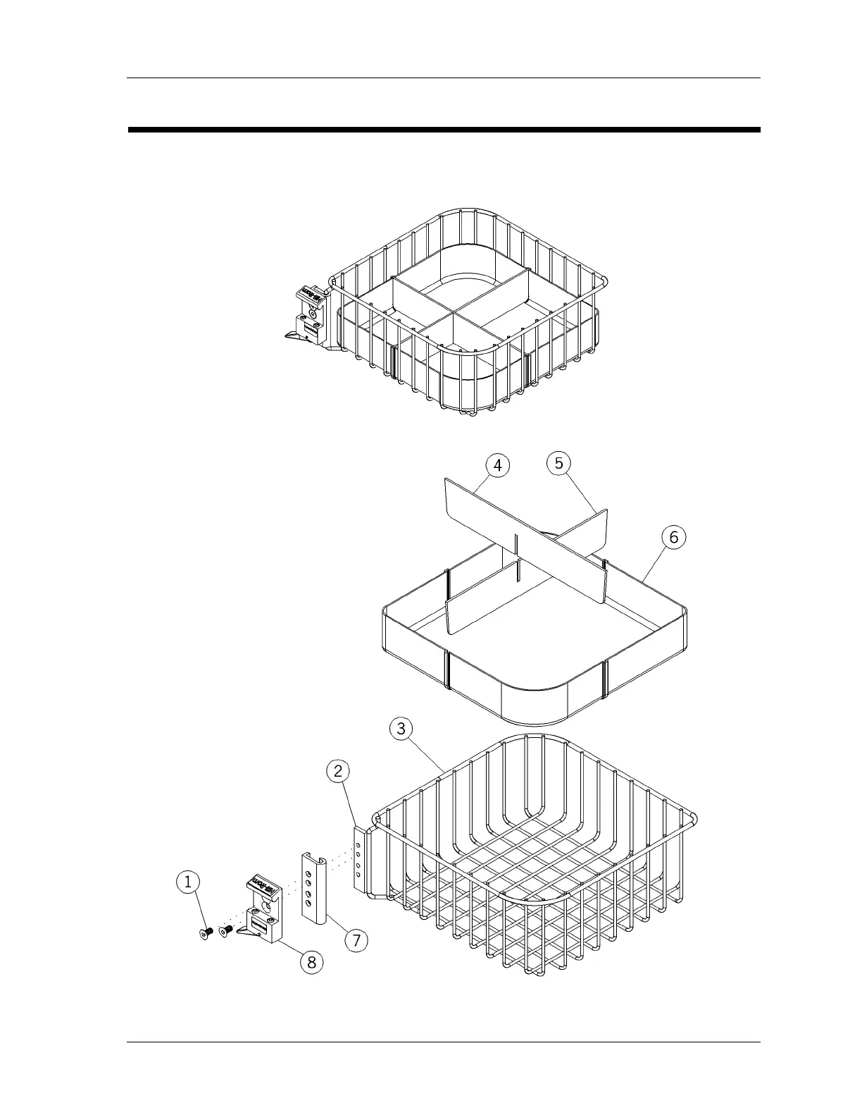
Figure 5-54. CC Basket Assembly, Swivel (P170105-01) P2001B
m148a085
Page 5 - 122 Integris® 2001 Headwall System Service Manual (man148ra)

Table of Contents