EasyManua.ls Logo

Yamaha F100B - Page 48

Yamaha F100B
345 pages
Print Icon
To Next Page IconTo Next Page
To Next Page IconTo Next Page
To Previous Page IconTo Previous Page
To Previous Page IconTo Previous Page
Loading...
SPEC
Specifications
2-13
60C5D11
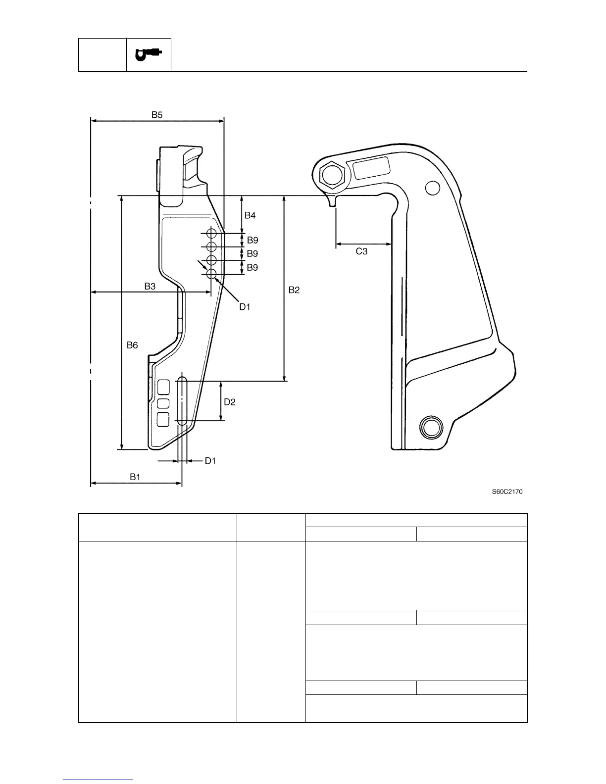
Clamp bracket
Symbol Unit
Model
F100BET F100CET
B1 mm (in) 125.4 (4.9)
B2 mm (in) 254 (10.0)
B3 mm (in) 163.5 (6.4)
B4 mm (in) 50.8 (2.0)
B5 mm (in) 180 (7.1)
B6 mm (in) 367 (14.4) 347 (13.7)
B7 mm (in)
B8 mm (in)
B9 mm (in) 18.5 (0.7)
C2 mm (in)
C3 mm (in) 82 (3.2) 80 (3.1)
D1 mm (in) 13 (0.5)
D2 mm (in) 55.5 (2.2)

Table of Contents

Other manuals for Yamaha F100B

Related product manuals