EasyManua.ls Logo

Yamaha F100B - Gear Pump (F100 C)

Yamaha F100B
345 pages
Print Icon
To Next Page IconTo Next Page
To Next Page IconTo Next Page
To Previous Page IconTo Previous Page
To Previous Page IconTo Previous Page
Loading...
60C5D11
7-80
1
2
3
4
5
6
7
8
9
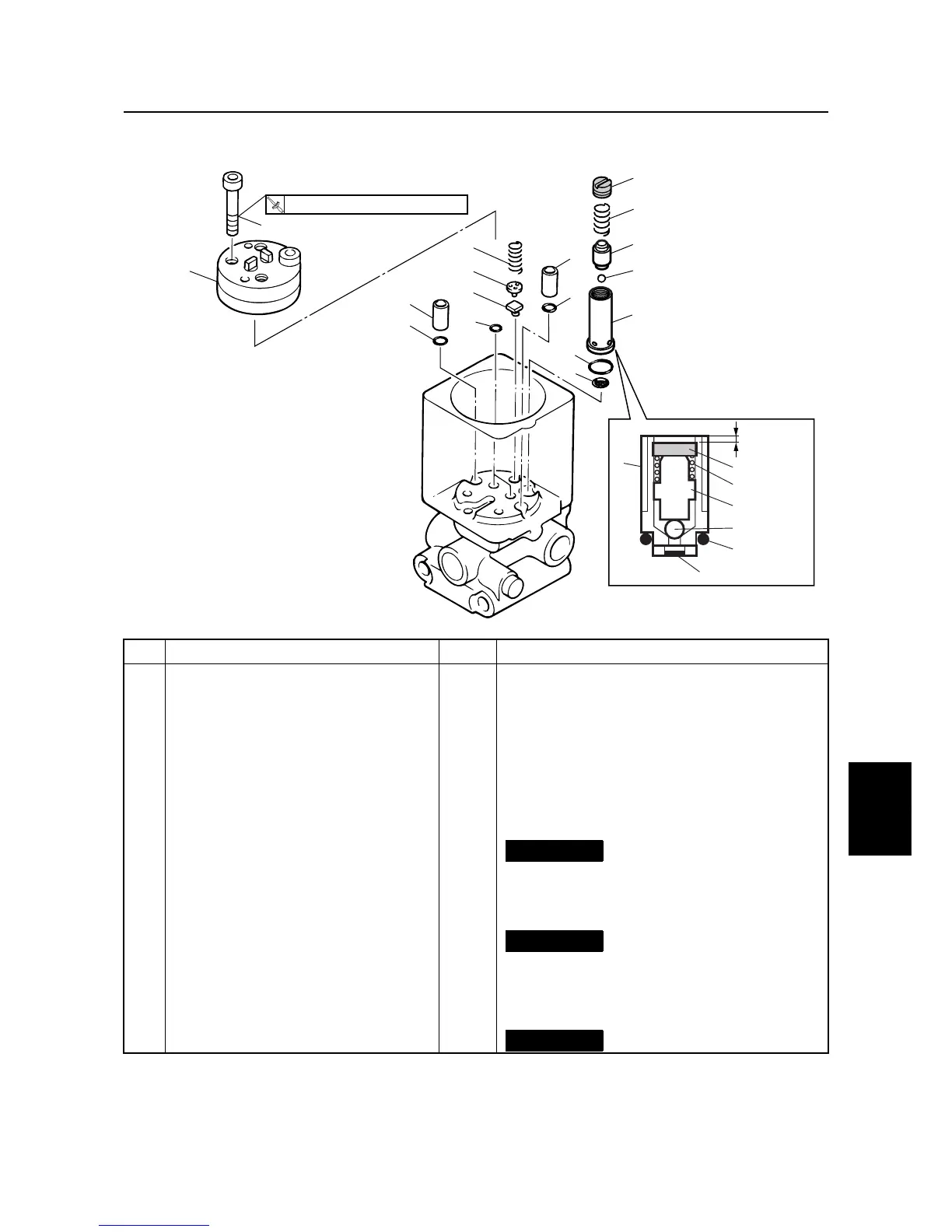
Gear pump (F100C)
7
No. Part name Qty Remarks
1 Gear pump 1
2Bolt 3 M6
×
35 mm
3Cap 1
4 Down-relief spring 1
5 Absorber valve pin 1
6Ball 1
7 Relief valve seat 1
8 O-ring 1
Not reusable
1.5
×
13.7 mm
9Filter 1
10 Filter 2
11 O-ring 2
Not reusable
12 Down-relief spring 1
13 Valve support pin 1
14 Relief valve seal 1
15 O-ring 2
Not reusable
S60C7735
10
11
15
12
13
14
10
11
7
8
9
3
4
5
8
3
4
5
6
2.2 mm
(0.087 in)
7
6
9
2
1
T
R
.
.
8 N
m (0.8 kgf
m, 5.8 ft
Ib)
Tilt cylinder and trim cylinder (F100C) / Gear pump (F100C)

Table of Contents

Other manuals for Yamaha F100B

Related product manuals