EasyManua.ls Logo

Yamaha F100B - Carburetor

Yamaha F100B
345 pages
Print Icon
To Next Page IconTo Next Page
To Next Page IconTo Next Page
To Previous Page IconTo Previous Page
To Previous Page IconTo Previous Page
Loading...
FUEL
Fuel system
4-13
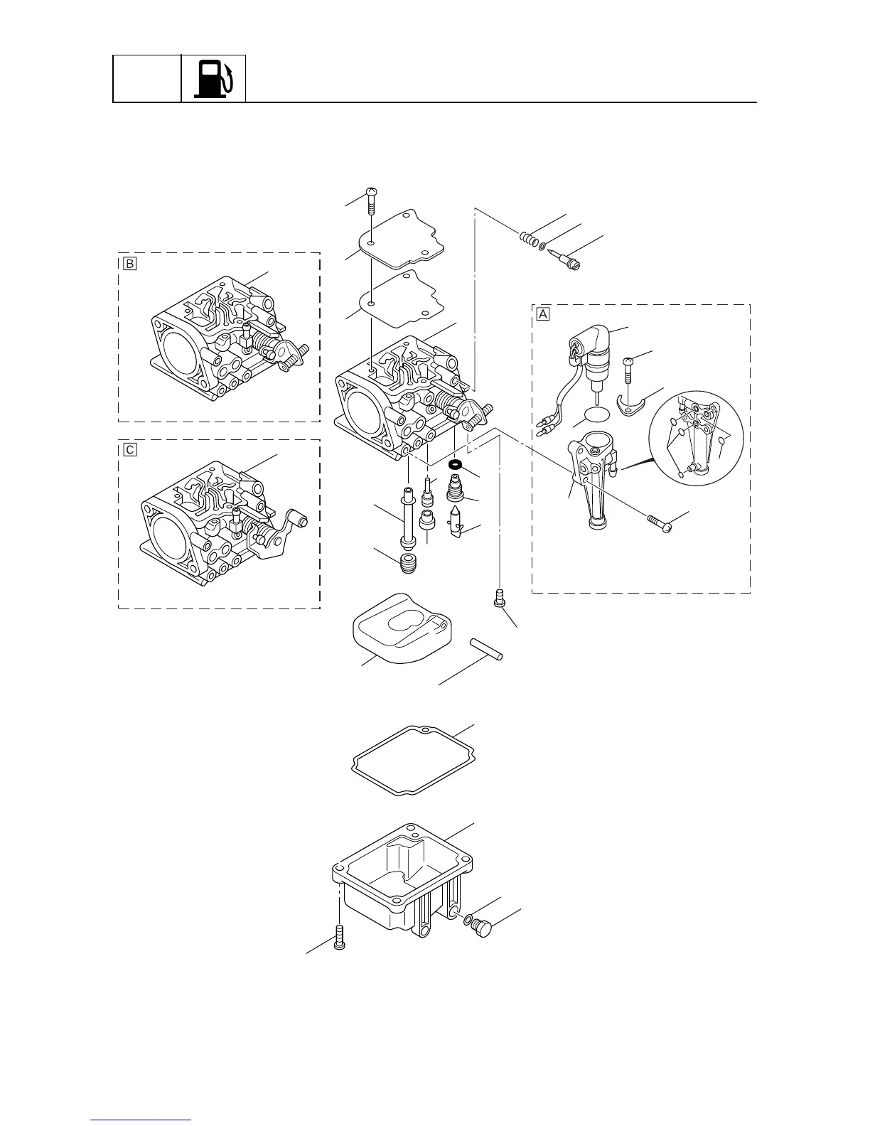
60C5D11
Carburetor
4
7
5
6
1
1
1
2
3
4
29
26
25
22
24
23
16
17
15
21
20
19
18
11
13
10
9
8
27
28
12
14
14
S60C4140

Table of Contents

Other manuals for Yamaha F100B

Related product manuals