EasyManua.ls Logo

YASKAWA SGM-A3 - Page 381

YASKAWA SGM-A3
513 pages
Print Icon
To Next Page IconTo Next Page
To Next Page IconTo Next Page
To Previous Page IconTo Previous Page
To Previous Page IconTo Previous Page
Loading...
5.6 Specifications and Dimensional Drawings of Peripheral Devices
369
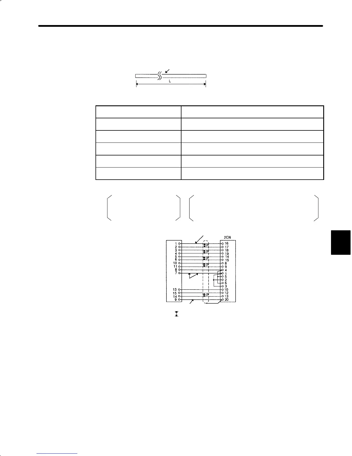
f) Cables for Absolute Encoder (Cable Only)
Cable AWG22 x 3C, AWG26 x 6P
Type L in mm (feet)
DP8409123-1
3000
+100
0
(10
+0.33
0
)
DP8409123-2
5000
+100
0
(16.7
+0.33
0
)
DP8409123-3
10000
+500
0
(33.3
+1.67
0
)
DP8409123-4
15000
+500
0
(50
+1.67
0
)
DP8409123-5
20000
+500
0
(66.7
+1.67
0
)
Cap: 172163-1
Socket: 170365-1
Case: MR-20L (Manufactured by Honda Tsushin
Kogyo Co., Ltd.)
Connector: MR-20F (Manufactured by Honda
Tsushin Kogyo Co., Ltd.)
*
*
Green/Yellow
White/Orange
Orange
White/Grey
Blue
White/Blue
Yellow
White/Yellow
Green
White/Green
Purple
White/Purple
Red
Black
P: twisted-pair shielded cables.
0.2mm
2
0.5mm
2
0.5mm
2
* Purchase caps, sockets, cases, and connectors separately. Refer to
5.6.3. Connector Kits for details.
5

Table of Contents

Related product manuals