EasyManua.ls Logo

YASKAWA SGM-A3 - Page 405

YASKAWA SGM-A3
513 pages
Print Icon
To Next Page IconTo Next Page
To Next Page IconTo Next Page
To Previous Page IconTo Previous Page
To Previous Page IconTo Previous Page
Loading...
6.2 Troubleshooting
393
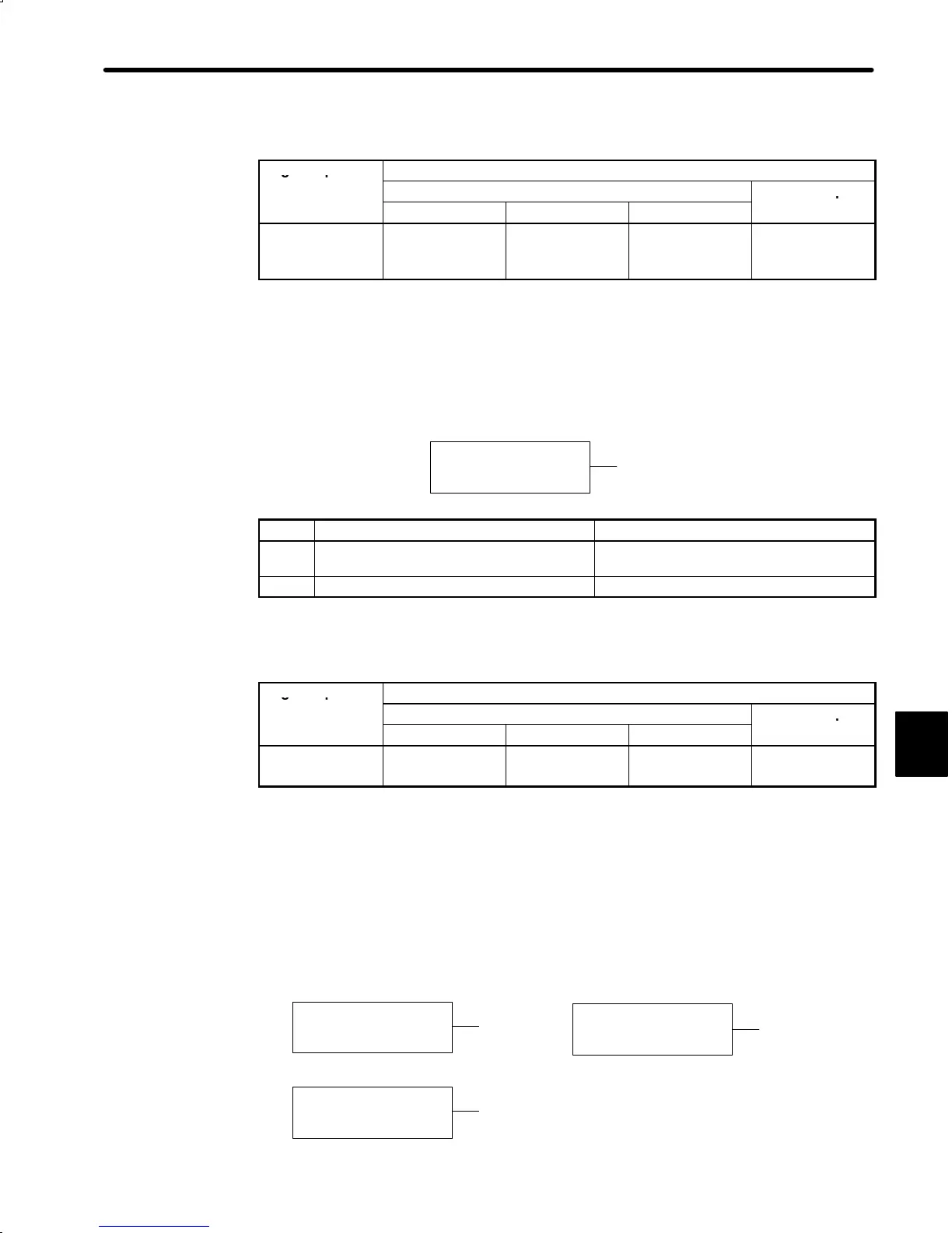
D Display and Outputs
Digital Operator
Di l
d
Alarm Output
g
p
Display and
Alarm
Name
Alarm Code Output
Alarm Output
Al
arm
N
ame
ALO1 ALO2 ALO3
p
A.04
User constant
setting error
OFF OFF OFF OFF
OFF: Output transistor is OFF
ON: Output transistor is ON
Status When Alarm Occurred
At control power ON
A
,
B
Cause Remedy
A An out-of-range user constant was
previously set or loaded.
Reset all user constants in range.
Otherwise, re-load correct user constants.
B Circuit board (1PWB) defective Replace Servopack.
D Display and Outputs
Digital Operator
Di l
d
Alarm Output
g
p
Display and
Alarm
Name
Alarm Code Output
Alarm Output
Al
arm
N
ame
ALO1 ALO2 ALO3
p
A.10
Overcurrent
ON OFF OFF OFF
OFF: Output transistor is OFF
ON: Output transistor is ON
Note
Alarm A10 is reset when the power is turned OFF and back ON. It is not reset by the normal
alarm reset.
Status When Alarm Occurred
During servomotor
operation
When servo ON (S-ON)
signal turned ON
A
,
B
,
C
,D,E
D,
E
At main circuit power
ON
D
6

Table of Contents

Related product manuals