EasyManua.ls Logo

YASKAWA SGM-A3 - Page 415

YASKAWA SGM-A3
513 pages
To Next Page IconTo Next Page
To Next Page IconTo Next Page
To Previous Page IconTo Previous Page
To Previous Page IconTo Previous Page
Loading...
6.2 Troubleshooting
403
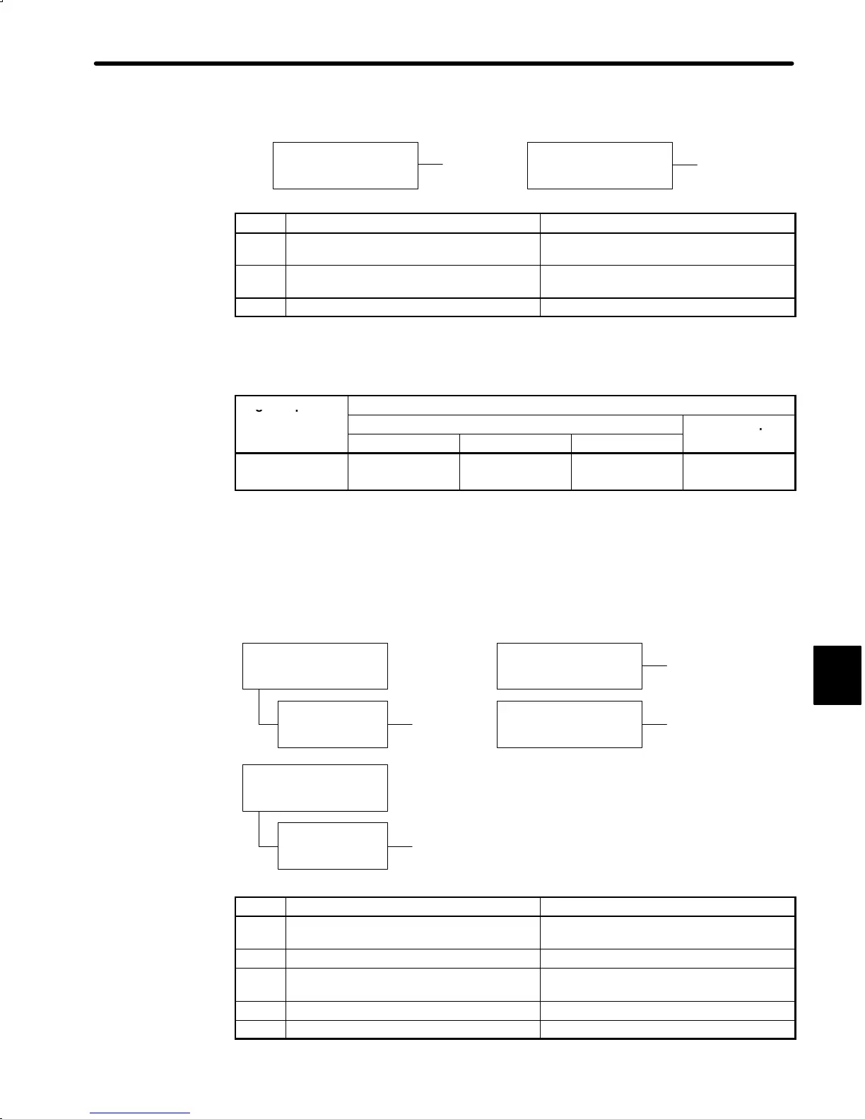
Status When Alarm Occurred
A
,
B
During servomotor
operation
At control power ON
C
Cause Remedy
A Part malfunctioned in reference read-in unit
(A/D converter, etc.).
Reset alarm and restart operation.
B Part defective in reference read-in unit
(A/D converter, etc.).
Replace Servopack.
C Circuit board (1PWB) defective Replace Servopack.
D Display and Outputs
Digital Operator
Di l
d
Alarm Output
g
p
Display and
Alarm
Name
Alarm Code Output
Alarm Output
Al
arm
N
ame
ALO1 ALO2 ALO3
p
A.C1
Servo overrun
ON OFF ON OFF
OFF: Output transistor is OFF
ON: Output transistor is ON
Status When Alarm Occurred
E
At control power ON
User constant
Cn-01 Bit 0 = 0
When servo ON (S-ON)
signal turned ON
A
,
B
,C,D,E
On speed reference input
A
,
B
,C,D,E
A
,
B
,C,D,E
Occurred 1 to 3 se-
conds after power ON
User constant
Cn-01 Bit 0 = 1
Cause Remedy
A Servomotor wiring incorrect or
disconnected
Check wiring and connectors at
servomotor.
B Encoder wiring incorrect or disconnected Check wiring and connectors at encoder.
C Incremental encoder power not supplied
from Servopack.
Use the Servopack power supply for the
encoder.
D Encoder defective Replace servomotor.
E Circuit board (1PWB) defective Replace Servopack.
6

Table of Contents

Related product manuals