EasyManua.ls Logo

Ainuo AN9640B - Simulated Leakage Body Network

Ainuo AN9640B
81 pages
Print Icon
To Next Page IconTo Next Page
To Next Page IconTo Next Page
To Previous Page IconTo Previous Page
To Previous Page IconTo Previous Page
Loading...
Annex B Safety Knowledge
64
Figure B-7-3 First step of Dynamic LC
Figure B-7-4 Second step of Dynamic LC
Where:
a) If the duration is set to n Sec., the duration for the first step and the second step is
n/2 Sec.;
b) In the first step, measure for n/2 Sec., and the current measurement is I1;
c) In the second step, measure for n/2 Sec., and the current measurement is I2;
d) Neither I1 nor I2 is overlimit, otherwise the alarm is given.
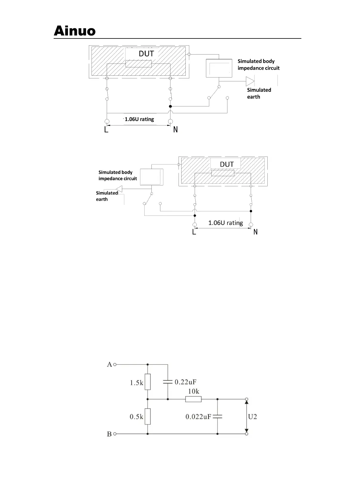
e) 1.06U rating refers to 1.06 times of rated voltage.
B.7.2 Simulated leakage body network
The simulated leakage body network is as shown in Figure B-7-5.
Figure B-7-5 Simulated leakage body network

Table of Contents

Related product manuals