EasyManua.ls Logo

Automationdirect.com DirectLOGIC DL205 Series

Automationdirect.com DirectLOGIC DL205 Series
587 pages
To Next Page IconTo Next Page
To Next Page IconTo Next Page
To Previous Page IconTo Previous Page
To Previous Page IconTo Previous Page
Loading...
DL205 User Manual, 4th Edition, Rev. B
5–135
Chapter 5: Standard RLL Instructions - Number Conversion
1
2
3
4
5
6
7
8
9
10
11
12
13
14
A
B
C
D
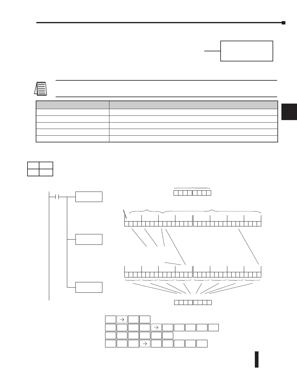
Real to Binary Conversion (RTOB)
The Real-to-Binary instruction converts the real number in
the accumulator to a binary value. The result resides in the
accumulator. Both the binary and the real number may use all
32 bits of the accumulator.
NOTE
1
: The decimal portion of the result will be rounded down (14.1
14 or - 14.1
-15).
NOTE
2
: If the real number is negative, it becomes a signed decimal value.
In the following example, when X1 is on, the value in V1400 and V1401 is loaded into the
accumulator using the Load Double instruction. The RTOB instruction converts the real
value in the accumulator the equivalent binary number format. The value in the accumulator
is copied to V1500 and V1501 using the Out Double instruction. The handheld programmer
would display the binary value in V1500 and V1501 as a HEX value.
RTOB
Standard RLL
Instructions
V1400V1401
DirectSOFT
LDD
V1400
X
1
Load the value in V1400 and
V1401 into the accumulator
RTOB
Convert the real number in
the accumulator to binary
format.
01110010001000010000000000000101
8 4 2 1 8 4 2 1 8 4 2 1 8 4 2 1
8 4 2 1 8 4 2 1 8 4 2 1 8 4 2 1
Acc.
V1500V1501
Binary Value
Copy the real value in the
accumulator to V1500 and V1501
OUTD
V1500
00101000001000000100100010101110
Acc.
Real Number Format
Mantissa (23 bits)Exponent (8 bits)Sign Bit
2 (exp 18)
127 + 18 = 145
128 + 16 + 1 = 145
STR
$
SHFT
ANDST
L
3
D
3
D
SHFT
1
B
MLR
T
ORN
R
ENT
OUT
GX
SHFT
3
D
1
B
ENT
INST#
O
ENT
1
B
4
E
0
A
0
A
ENT
1
B
5
F
0
A
0
A
Handheld Programmer Keystrokes
4 8284EA 0
00 427501
The binary number copied to V1400
ý
ý
þ
þ
230
240
250-1
260
Discrete Bit Flags Description
SP63 On when the result of the instruction causes the value in the accumulator to be zero.
SP70 On anytime the value in the accumulator is negative.
SP72 On anytime the value in the accumulator is a valid floating point number.
SP73 On when a signed addition or subtraction results in an incorrect sign bit.
SP75 On when a number cannot be converted to binary.
DS Used
HPP Used

Table of Contents

Related product manuals