EasyManua.ls Logo

baxter ARENA - Supply Pump

baxter ARENA
293 pages
Print Icon
To Next Page IconTo Next Page
To Next Page IconTo Next Page
To Previous Page IconTo Previous Page
To Previous Page IconTo Previous Page
Loading...
Arena Service Manual
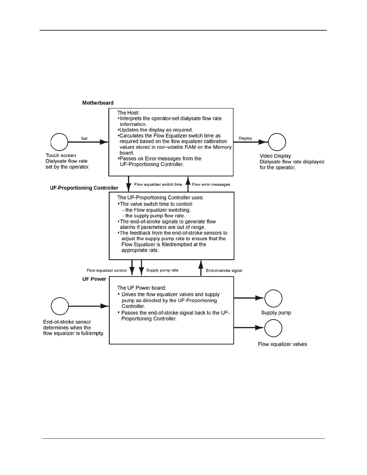
7.5.3 Supply Pump
The supply pump speed can continually adjust throughout
operation. Its speed is calculated at each flow equalizer stroke so
end-of-stroke times of one second are achieved. See Figure 7-7.
Figure 7-7. Dialysate Flow
The UF-Proportioning system controls the dialysate flow rate by
controlling the time between the switching of the flow equalizer
(which has a fixed volume) valves provided that all the fluid within
the flow equalizer chambers has been exchanged.
The supply pump speed controls the instantaneous dialysate flow
rate, so the UF-Proportioning controller controls the supply pump
speed in order to maintain a consistent end-of-stroke time. If end-
of-stroke is not sensed, the Instrument waits only 15 seconds after
7-12 157-1278-914 Rev A
January 2004

Table of Contents

Related product manuals