EasyManua.ls Logo

baxter ARENA - Page 252

baxter ARENA
293 pages
Print Icon
To Next Page IconTo Next Page
To Next Page IconTo Next Page
To Previous Page IconTo Previous Page
To Previous Page IconTo Previous Page
Loading...
13. Blood/Saline & Air Detectors
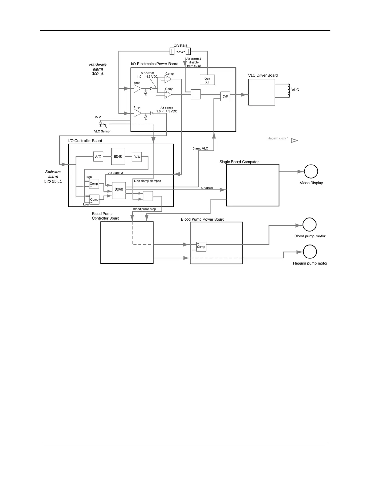
Figure 13-3. Air Detector Block Diagram
The air detector assembly utilizes a set of 2 MHz piezo crystals.
One crystal functions as an ultrasonic transmitter and the second
crystal functions as a receiver. The emitter and receiver are
housed in identical assemblies. The emitter is driven by a 2 MHz
square wave that is derived from a crystal oscillator (X1 and
related circuitry) located on the I/O Electronics Power Board.
When there is fluid in the blood line between the crystal
assemblies, the 2 MHz signal is coupled to the receiver assembly.
The return signal from the receiver assembly is amplified (U9 and
U10) and rectified by two independent circuits also located on the
I/O Electronics Power Board. The resulting signal is a DC signal
of 1.0 to 4.5 VDC. These DC output levels are monitored using
two different methods, software and hardware, each generating a
specific alarm. See Sections 13.2.1.1 and 13.2.1.2.
13.2.1.1 Software Alarm Detection (Primary Alarm)
One output is fed from the I/O Electronics Power Board to an A-
to-D converter and read by the I/O Controller Board. This value is
157-1278-920 Rev A 13-5
April 2004

Table of Contents

Related product manuals