EasyManua.ls Logo

baxter ARENA - Page 285

baxter ARENA
293 pages
Print Icon
To Next Page IconTo Next Page
To Next Page IconTo Next Page
To Previous Page IconTo Previous Page
To Previous Page IconTo Previous Page
Loading...
Arena Service Manual
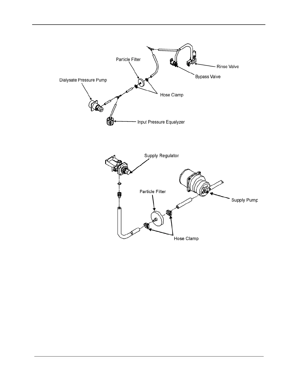
Postdialyzer filter:
Figure 16-5. Postdialyzer Particle Filter
Predialyzer filter:
Figure 16-6. Predialyzer Particle Filter
16-10 157-1278-923 Rev A
February 2004

Table of Contents

Related product manuals