EasyManua.ls Logo

Burkert 8630 - Page 74

Burkert 8630
192 pages
Print Icon
To Next Page IconTo Next Page
To Next Page IconTo Next Page
To Previous Page IconTo Previous Page
To Previous Page IconTo Previous Page
Loading...
72 - 8630
OPERATION AND CONTROLLER FUNCTIONS
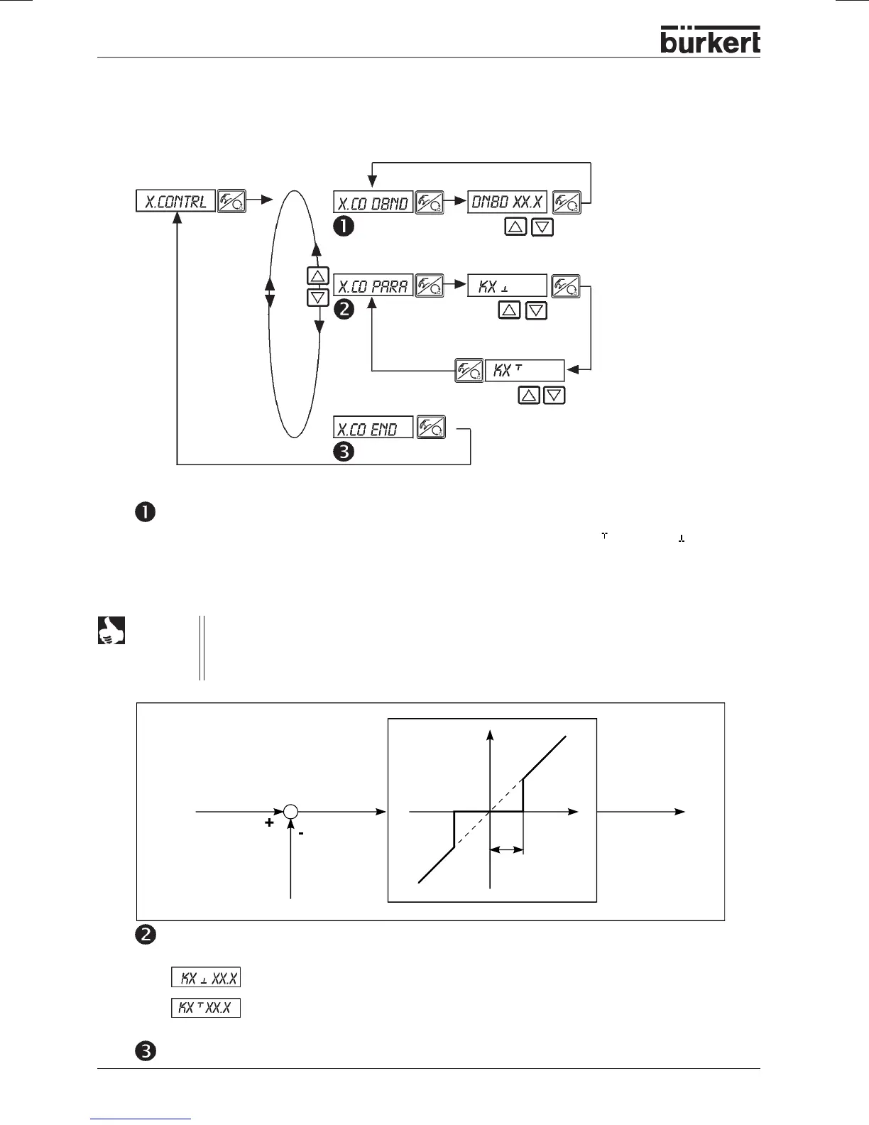
Insensitivity range (dead band) of the positioner
Entry of the dead band in %, referred to the scaled stroke range; i.e.
LIM
minus
LIM
(see
function
X.LIMIT
). This function assures that the positioner cuts in only above a certain control
difference. The function reduces wear on the solenoid valves in the TOP
Control Continuous and
the pneumatic actuator.
X.CONTRL
Parametrization of the positioner
XXXX
XXXX
Xd1 Xd1
Xd1'
Xd1'
to controller
Dead band
Position
actual value
(POS)
Position setpoint
(CMD)
Control
difference
Parameters of the positioner
Gain factor of the positioner (to close the valve)
Gain factor of the positioner (to open the valve)
End
of parametrization of positioner. Jump back to
X.CONTRL.
NOTE
If, during execution of
X.TUNE (AUTOTUNE
of the positioner
)
, the supplementary function
X.CONTRL
is in the main menu, the dead band
X.CO DBND
is automatically determined in
dependence on the frictional behaviour of the positioning mechanism. The value resulting is
a guide value. It can be readjusted manually.

Table of Contents

Related product manuals