EasyManua.ls Logo

Burkert 8630 - Page 75

Burkert 8630
192 pages
Print Icon
To Next Page IconTo Next Page
To Next Page IconTo Next Page
To Previous Page IconTo Previous Page
To Previous Page IconTo Previous Page
Loading...
8630 - 73
OPERATION AND CONTROLLER FUNCTIONS
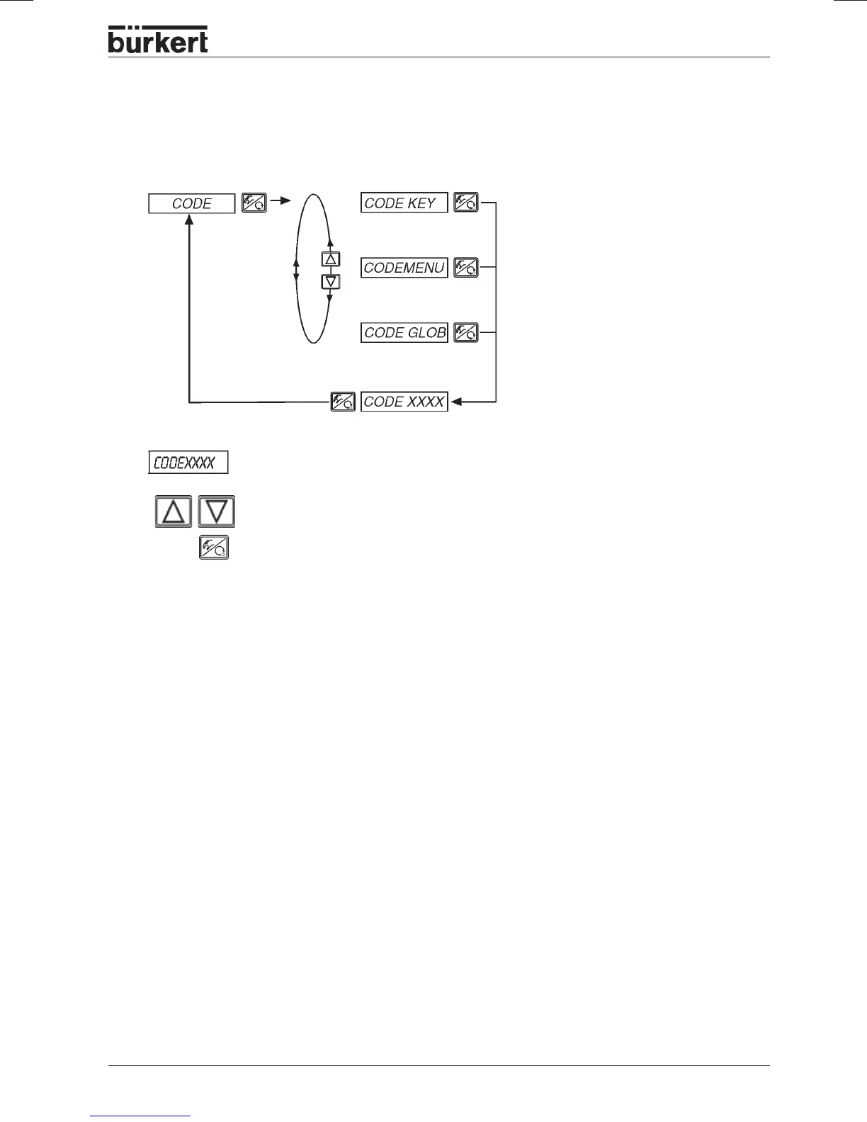
CODE
Code protection for the settings
Factory setting:
CODE 0000
If the code protection is activated, entry of the code will be demanded on every
protected operative manipulation:
Change the flasching digit
Confirm the digit and switch to next digit
Entry of the 4-digit code.
Locking of all functions that cloud change
the operating status of the device. (The
display on the display unit can be switched
over).
Locking of the entry into the configuration
level.
Locking of all actions (including bus para-
meterd and binary input) that change the
operating status of the device. (The display
on the display unit can be switched over.)

Table of Contents

Related product manuals