EasyManua.ls Logo

Case 580SR+ - Page 798

Case 580SR+
1068 pages
Print Icon
To Next Page IconTo Next Page
To Next Page IconTo Next Page
To Previous Page IconTo Previous Page
To Previous Page IconTo Previous Page
Loading...
38 SECTION 50 - CAB HEATING AND AIR CONDITIONING
PERFORMANCE TEST EXAMPLE 7
Performance Test Example 7
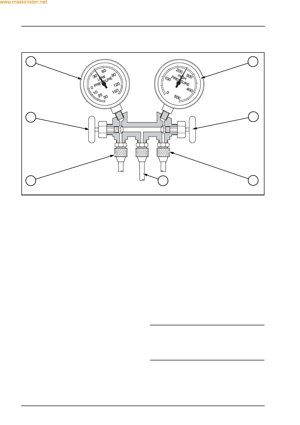
1. High side high
2. High side hand valve closed
3. High side hose connected to high side service
connector
4. Not used
5. Low side hose connected to low side service
connector
6. Low side hand valve closed
7. Low side hide
PROBLEM
Little or no cooling.
CAUSE
Improper operation of thermostatic expansion valve
(stuck open).
CONDITIONS*
Low side pressure too high. Gauge should read 1-2
bar.
High side pressure too high. Gauge should read
13.3-14.8 bar.
Evaporator air warm.
Evaporator and suction hose (to compressor) sur-
faces show considerable moisture.
CORRECTIVE PROCEDURES
1. Check for sticking expansion valve as follows:
Operate the system at maximum cooling.
Check the low side gauge. The pressure should
lower slowly.
2. If the test indicates that the expansion valve is
defective, proceed as follows:
Discharge and recover the refrigerant from the
system.
Replace the expansion valve.
Evacuate the system.
Charge the system.
Performance test the system.
DIAGNOSIS
Thermostatic expansion valve is allowing too much
refrigerant to flow through the evaporator coils.
Valve may be stuck open.
NOTE: * test procedure based upon ambient tem-
perature of 35 °C.
For proper high side gauge reading for other ambi-
ent temperatures, refer to the pressure temperature
chart.
1
2
3
4
7
6
5
F28704
www.maskinisten.net
Copyright ©

Table of Contents

Related product manuals