EasyManua.ls Logo

DoAll DS-320SA - Page 71

DoAll DS-320SA
73 pages
Print Icon
To Next Page IconTo Next Page
To Next Page IconTo Next Page
To Previous Page IconTo Previous Page
To Previous Page IconTo Previous Page
Loading...
DS-320SA
Instruction Manual - 71 -
www.doallsaws.com
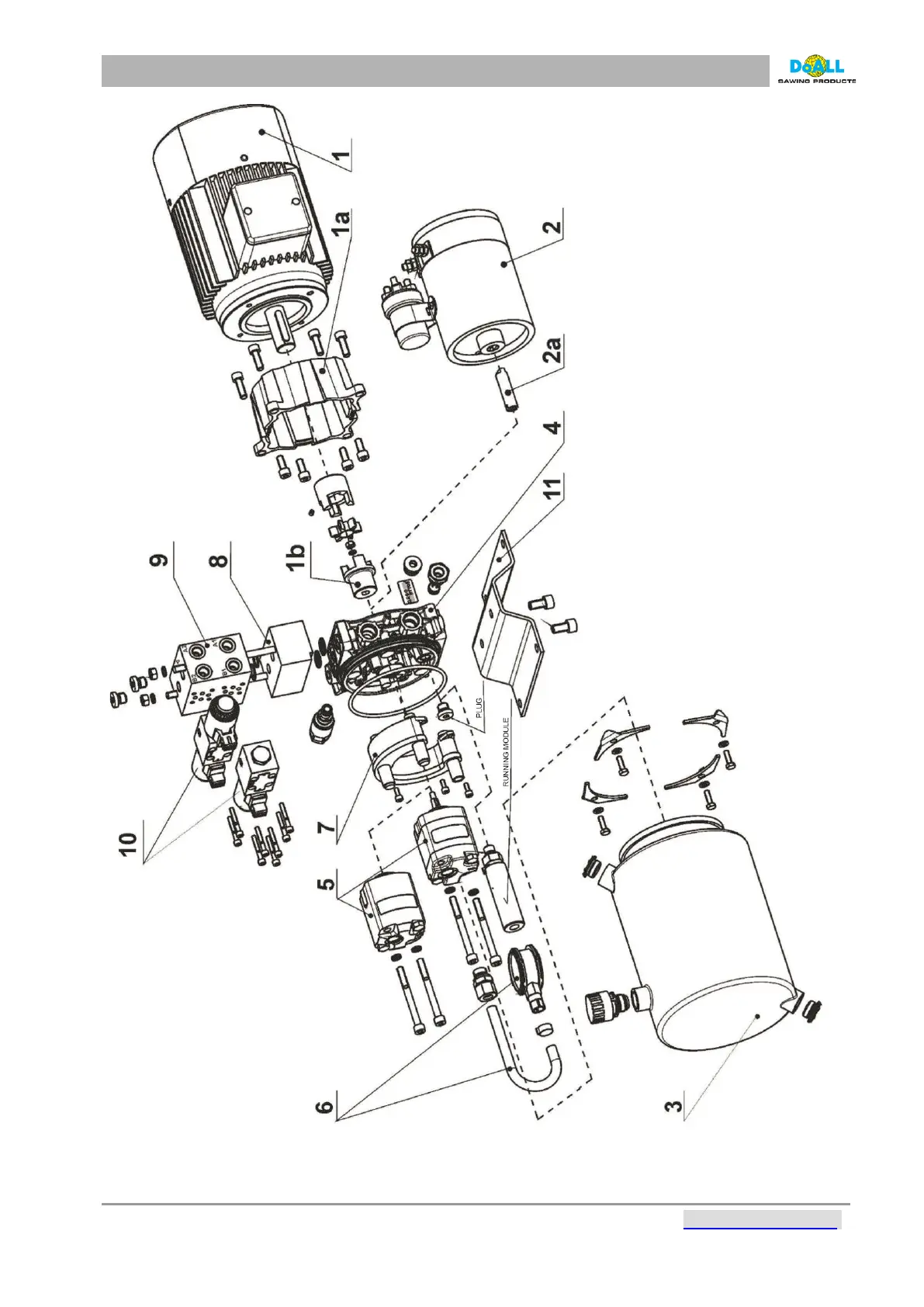
pic: 14-3

Table of Contents

Related product manuals