EasyManua.ls Logo

Eckold KF 170 PD - Return Motion Device Parts

Eckold KF 170 PD
81 pages
Print Icon
To Next Page IconTo Next Page
To Next Page IconTo Next Page
To Previous Page IconTo Previous Page
To Previous Page IconTo Previous Page
Loading...
MEL-7
Kraftformer KF 170 PD
2018-05-09 | ECKOLD AG
Machine Spare Parts List (MEL)
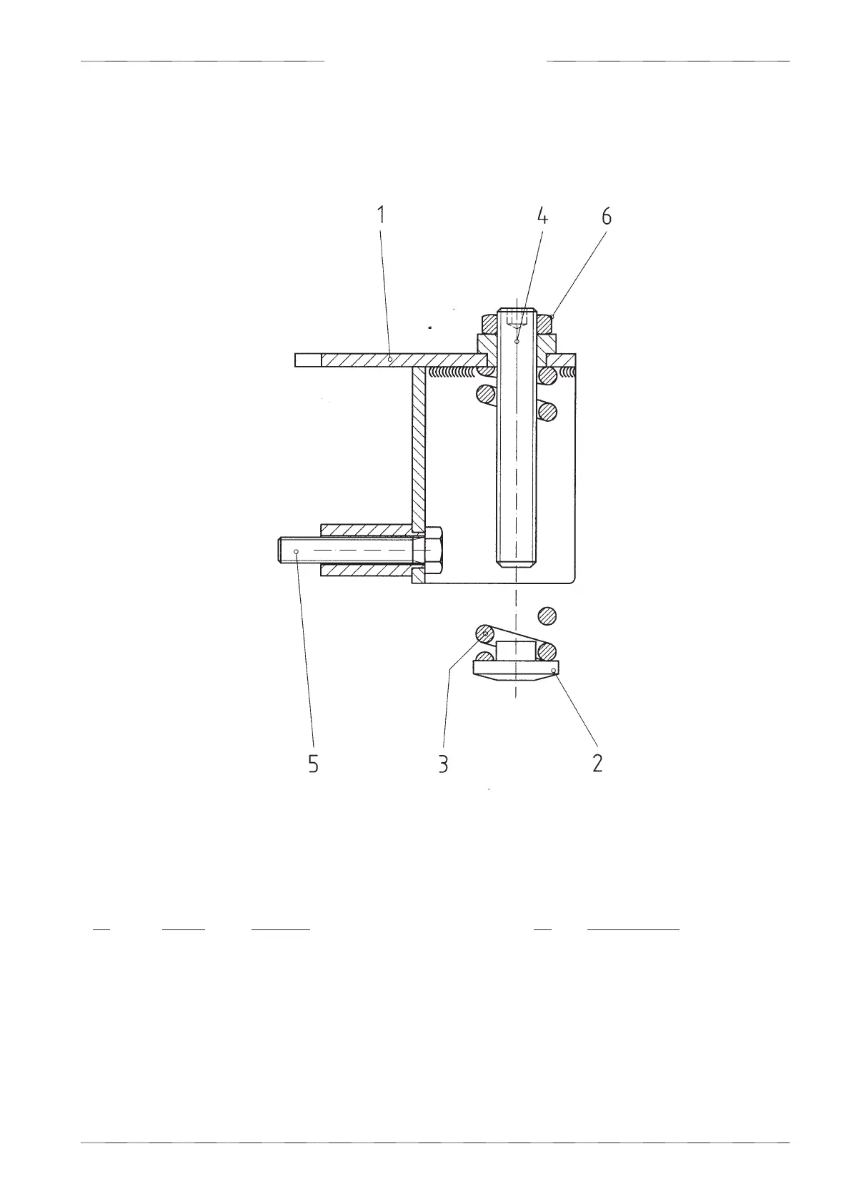
11.3.4 Return motion device 023.125.0029
Pos Item No. Designation Qty Type / Dimensions
023.125.0029 Return motion device
1 023.125.0003 Console 1
2 023.910.0177 Spring saddle 1
3 266.060.2280 Pressure spring (blue = medium) 1 d 12.5 / d 25 / Lo 102
4 256.021.1315 Setscrew black 1 DIN 913 M 12 X 80
5 253.002.0413 Hexagon screw 1 DIN 933 M 8 x 45
6 257.002.0160 Hexagon nut 1 DIN 439B M12x0.5d

Table of Contents