EasyManua.ls Logo

Eckold KF 170 PD - Adjusting Handle

Eckold KF 170 PD
81 pages
Print Icon
To Next Page IconTo Next Page
To Next Page IconTo Next Page
To Previous Page IconTo Previous Page
To Previous Page IconTo Previous Page
Loading...
MEL-11
Kraftformer KF 170 PD
2018-05-09 | ECKOLD AG
Machine Spare Parts List (MEL)
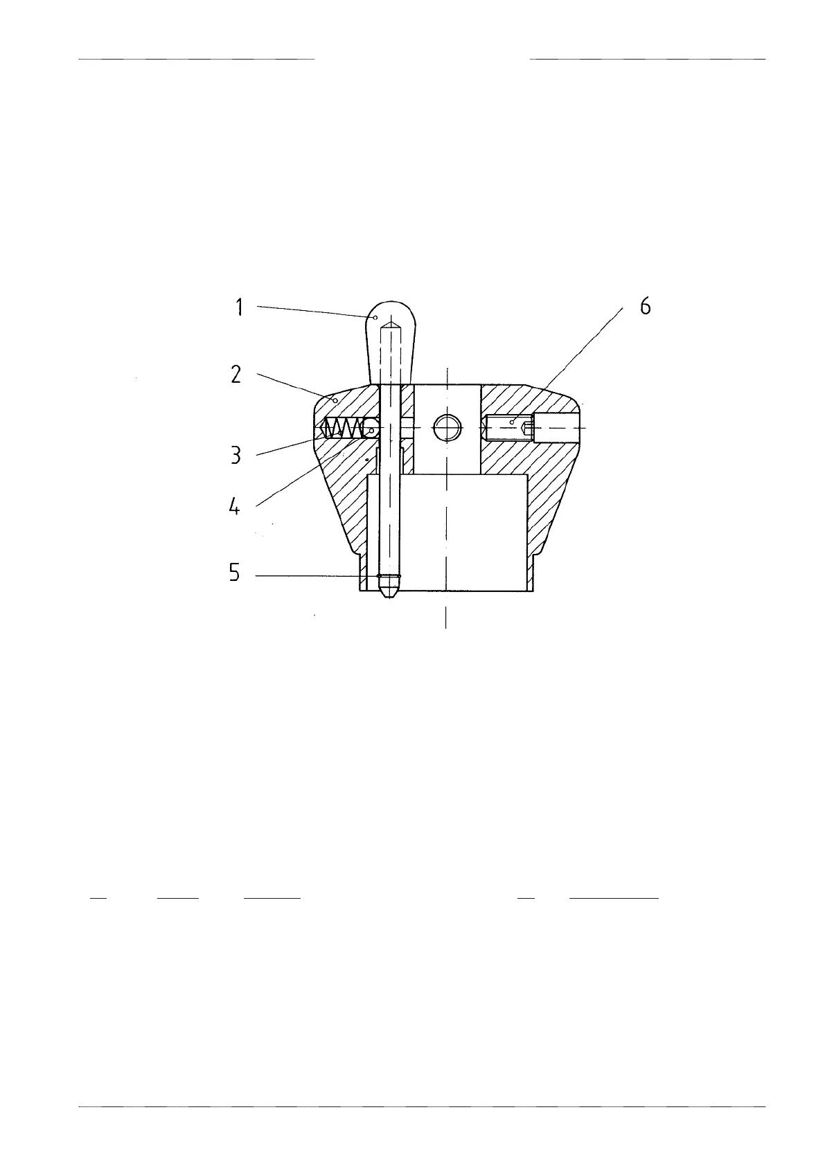
11.4.1 Adjusting handle 023.125.0008
Pos Item No. Designation Qty Type / Dimensions
023.125.0008 Adjusting handle
1 023.125.0007 Retention pin 1
2 023.910.0218 Adjusting handle 1
3 021.910.0059 Pressure spring 1
4 261.150.0060 Ball 1 DIN 5401 ø6
5 258.320.0002 Retainer ring bl. 1 DIN 7993A ø6
6 256.100.1215 Socket Set Screws 2 DIN 916 M8x12

Table of Contents