EasyManua.ls Logo

Eckold KF 170 PD - Covering and Pneumatic Control Set

Eckold KF 170 PD
81 pages
Print Icon
To Next Page IconTo Next Page
To Next Page IconTo Next Page
To Previous Page IconTo Previous Page
To Previous Page IconTo Previous Page
Loading...
Kraftformer KF 170 PD
2018-05-09 | ECKOLD AG MEL-14
Machine Spare Parts List (MEL)
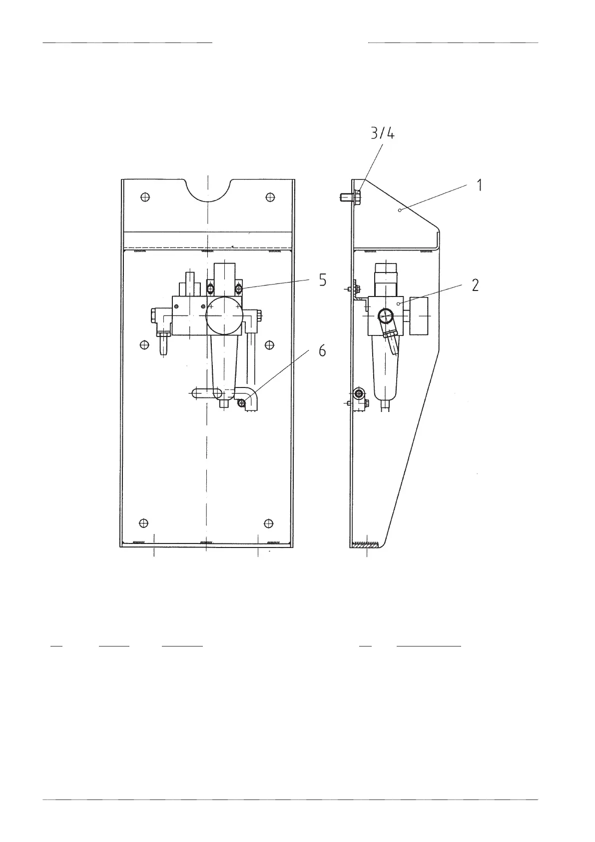
11.6 Covering 023.125.0017
Pos Item No. Designation Qty Type / Dimensions
023.125.0017 Covering
1 023.125.0023 Covering 1
2 023.125.0018 Pneumatic control set 1
3 253.003.0605 Hexagon screw 6 DIN 933 M 10 X 20
4 258.021.0004 Washer with basil 6 DIN 125 B M 10
5 253.021.0105 Self tapping hexagon screw 2 DIN 7500 M 5 x 10
6 253.021.0040 Self tapping hexagon screw 1 DIN 7500 M 4 x 25

Table of Contents